2024年四川宜宾中考物理试卷及答案
一、选择题:本题共14小题,每小题3分,共42分。在每小题给出的四个选项中,第1~10题只有一项符合题目要求;第11~14题有多项符合题目要求,全部选对的得3分,选对但不全的得2分,有错选或不选的得0分。
1. “五四”青年节到来之际,教室里传来《光荣啊,中国共青团》的歌声,小明一听便知道是小英在唱歌。他能确定是小英,主要是根据声音的( )
A. 音调 B. 响度 C. 音色 D. 频率
2. 如图所示的测量工具中,属于测量力的是( )
A.
B. 
C.
D. 
3. 下列现象中属于蒸发的是( )
A. 窗玻璃上出现冰花 B. 铁块变成铁水
C. 从冰箱拿出的葡萄“冒汗” D. 擦在皮肤上的酒精“消失”
4. 下列描述中属于扩散现象的是( )
A. 桂花花香四溢 B. 雪花漫天飘舞
C. 灰尘空中飞扬 D. 江面雾气弥漫
5. 如图是2024年4月9日发生日全食的情景。产生这一现象的原因是( )

A. 光的反射 B. 光的色散
C. 光的折射 D. 光的直线传播
6. 学校组织了丰富多彩的体育活动,下列运动中涉及物理知识的说法正确的是( )
A. 小强踢足球时,用脚将球踢出,说明一个物体就能产生力
B. 小英掷铅球时,铅球飞出去,说明力主要改变了物体的形状
C. 小明长跑时,冲过终点不能立即停下来,是由于小明具有惯性
D. 小华立定跳远时,他所受的重力与他对地面的压力是一对平衡力
7. 关于安全用电,下列说法正确的是( )
A. 用湿手触摸家庭电路开关
B. 多个大功率用电器同时工作时,共用一个插座
C. 使用试电笔时,手指按住笔尾金属帽,用笔尖接触被测导线
D. 将冰箱的三脚插头中较长插脚去掉后,可直接插入两孔插座中使用
8. 如图所示,人造地球卫星沿椭圆轨道绕地球运行,当卫星从近地点向远地点运动的过程中( )

A. 速度增大 B. 动能转化为重力势能
C. 机械能增大 D. 重力势能减小
9. 安检时,当金属探测仪靠近金属物体,会产生感应电流,发出警示信号。下图中与其工作原理相同的实验装置是( )
A.
B. 
C.
D. 
10. 中医在我国具有悠久的历史。一款电热中药壶有急火和文火两种工作状态,由开关
控制,在下图的简化电路中不能实现要求的是( )
A.
B. 
C.
D. 
11. 从生活走向物理,从物理走向社会。下列生活中有关质量和密度的说法正确的是( )
A. 冰块熔化成水后密度变大,质量变大
B. 一个鸡蛋的质量约为500g
C. 气凝胶是当今世界上密度极小的固体材料,广泛应用于航天领域
D. 发生火灾时,有害气体受热密度变小而上升,受困人员需弯腰甚至匍匐撤离
12. 如图是探究电流热效应的实验装置,两个相同透明容器中密封着等量的空气和电阻
、
,其中
,
。下列说法正确的是( )

A. 只闭合
,可以探究电流通过导体产生的热量与电阻的关系
B. 只闭合
,若电路中的电流为0.2A,通电1min电阻
产生的热量为12J
C. 闭合
和
,通过
的电流是
电流的0.5倍
D. 闭合
和
后,左侧U形管内液柱的高度差和右侧的高度差一样
13. 如图所示,两个不吸水的实心小球甲和乙,用不可伸长的细线系住,放入水中静止后,甲有一半的体积露出水面,乙与容器底部接触,细线被拉直。已知甲的重力为4N,甲受到的浮力为8N,甲、乙的体积之比为2:1,甲、乙的密度之比为1:6,水的密度为
,g取
。下列说法正确的是( )

A. 细线对甲的拉力为4N B. 乙受到的浮力为4N
C. 甲的密度为
D. 容器底部对乙的支持力为4N
14. 我国交规规定,酒后不能开车。图甲是一种对驾驶员进行检测的呼气式酒精测试仪,其简化电路如图乙所示,测试仪里面装有酒精气体传感器,它是一种气敏电阻,用符号“
”表示,其阻值R随酒精气体浓度K变化图像如图丙所示。已知电源电压为12V,
是阻值为20Ω的定值电阻,设血液酒精浓度M=呼出酒精气体浓度K×2500,当血液酒精浓度≥0.2mg/mL时,属于饮酒驾驶。下列说法正确的是( )

A. 酒精气体浓度越大,电流表示数越大
B. 刚达到饮酒驾驶时,R的阻值为64Ω
C. 电流表示数为0.12A时,不属于饮酒驾驶
D. 达到饮酒驾驶,电路消耗的最小功率为1.44W
二、填空题:本题共8小题,每小题2分,共16分。
15. 太阳是人类能源的宝库。在太阳内部,氢原子核在超高温下发生_________,释放出巨大的核能。太阳能属于_________(选填“一次”或“二次”)能源。
16. 自然界只有两种电荷。用丝绸摩擦过的玻璃棒带_________电荷,用该玻璃棒接触验电器的金属球,两片金属箔因相互排斥而张开,是因为两片金属箔带_________(选填“同种”或“异种”)电荷。
17. 冰壶运动是冬奥会比赛项目之一。如图所示,运动员穿的两只鞋的鞋底材质不同。蹬冰脚的鞋底为橡胶制成,在向后蹬地的过程中,脚受到摩擦力的方向_________(选填“向前”或“向后”),而滑行时的鞋底由塑料制成,目的是为了_________(选填“增大”或“减小”)摩擦力。

18. 2024年2月11日,在游泳世锦赛男子4×100米自由泳决赛中,我国运动员潘展乐在第一棒游出46.80秒的好成绩,比此前保持的男子100米自由泳世界纪录提高了0.06秒,以看台为参照物,潘展乐是_________(选填“运动”或“静止”)的,他在决赛中的平均速度为_________m/s(保留两位小数)。
19. 据专家介绍,12~18岁是青少年近视的高发期,爱眼护眼势在必行。如图所示,_________(选填“甲”或“乙”)图表示近视眼成像原理,应佩戴_________(选填“丙”或“丁”)图的眼镜进行矫正。

20. 2024年4月19日,两辆以氢为燃料的汽车,实现了从北京到上海1500公里长距离运输的首次测试。选用氢为燃料是因为氢的_________大。假设汽车在一段平直公路上以恒定功率75kW匀速行驶,速度为108km/h,则汽车所受阻力为_________N。
21. 电热水壶内装有质量为2kg,温度为20℃的水,加热至沸腾时,水吸收的热量为_________J;电热水壶额定功率为2000W,正常工作时80%的热量被壶内的水吸收,将这壶水烧开需要的时间是_________分钟。已知水的比热容
,当地气压为标准大气压。
22. 2024年6月2日6时23分,我国嫦娥六号探测器成功着陆月背南极。探测器由“轨返组合体”和“着上组合体”组成,“着上组合体”上装有着陆相机,在下降过程中拍摄月球表面照片,将图片、数据回传地面应用系统进行研究。“着上组合体”的落月过程分为六个阶段,当距离月面约90~110米高度时,进入悬停段,这一阶段激光三维成像敏感器发射激光,通过反射获得这个探测器与月面的相对位置和速度,完成高精度三维成像,帮助实现平稳着陆。
请从文中摘取一段与物理相关的信息,并指出对应的物理知识,不得与示例重复。
示例:物理信息:将图片、数据回传地面应用系统;物理知识:电磁波可以传递信息。
作答:物理信息:_____________;物理知识:_____________。
三、作图题:本题共2小题,每小题3分,共6分。
23. 如图所示,根据透镜对光的作用,将图中三条光线补充完整。

24. 如图是宜宾港一起重机正在吊起货物的情景,请在图中画出此时动力
的力臂
和阻力
的示意图。

四、实验与探究题:本题共2小题,共15分。
25. 某兴趣小组利用如图所示器材,探究“液体压强跟哪些因素有关”。

(1)实验前,利用U形管、橡皮管、扎紧橡皮膜的探头、红墨水等组装成压强计,放在空气中静止后,发现U形管两边的液面出现如图甲所示的情景,接下来正确的调节方法是_________(填写正确选项前的字母);
A.将U形管右侧高出部分的液体倒出
B.向U形管中继续盛装液体
C.取下橡皮管,重新进行安装
(2)压强计是通过观察U形管两端液面的_________来显示橡皮膜所受压强大小的仪器;
(3)通过比较图中_________两个实验,是为了探究液体的压强与液体深度的关系,这种实验研究方法是_________法,依据得出的结论,拦河大坝要做成_________(选填“上窄下宽”或“上宽下窄”)的形状;
(4)某次实验测得压强计中U形管左右两侧液面的高度差为8cm,则橡皮管内气体的压强与大气压之差为_________Pa;(
,g取
)
(5)利用如下图甲的实验器材进行拓展实验:容器中间用隔板分成A、B两部分,隔板底部有一小圆孔(用C表示),用薄橡皮膜封闭,橡皮膜两侧压强不同时,其形状会发生改变。如图乙,当在A中盛水,测得深度为12cm,在B中盛某种液体,测得深度为15cm,此时C处橡皮膜形状刚好不改变,则B中液体密度
_________
。(
)

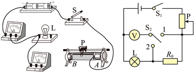
26. 某探究小组要测量一个标有“2.5V”字样的小灯泡在正常发光时的电阻,连接了如图所示的部分电路,已知电源电压恒定,滑动变阻器规格为“50Ω 2A”。

(1)该实验的原理是_________;
(2)请用笔画线代替导线,将图中的电路补充完整;________
(3)若连接电路后,闭合开关S,发现无论怎样调节滑动变阻器,电流表和电压表的示数都不变且较小,出现这种现象的原因是_________;
(4)若将滑动变阻器的下接线柱A端接入电路,正确连接电路后,闭合开关S,滑片P向_________(选填“左”或“右”)滑动时,小灯泡L变亮;
(5)在移动滑片P的过程中,应该观察_________表的示数,使小灯泡L正常发光;
(6)当小灯泡正常发光时,电流表示数为0.25A,则小灯泡正常发光时的电阻是_________Ω;
(7)完成实验后,小组又设计了如下图所示的电路图,测量该小灯泡L正常发光时的电阻,
为定值电阻,
为单刀双掷开关,实验步骤如下:
①闭合开关
,将开关
拨到触点2,移动滑片P,使电压表的示数
_________V;
②保持滑片P的位置不变,再将开关
拨到触点1,读出电压表的示数并记为
;
③该小灯泡正常发光时的电阻
_________(用
、
、
表示)。
五、计算与解答题:本题共2小题,共21分。要求写出必要的文字说明和重要的演算步骤,只写出最后答案的不得分。
27. 质量为500kg的物体M,与水平地面的接触面积为
,用如图所示的滑轮组沿水平方向将物体M从A点匀速拉到B点,AB距离为10m,物体M在地面滑动过程中受到的阻力是其重力的0.2倍,在此过程中,因动滑轮和绳的重力以及绳与滑轮间的摩擦而做的额外功
,g取
。求在此过程中:
(1)物体M受到的重力;
(2)物体M对地面的压强;
(3)滑轮组对物体M做的功;
(4)如果电动卷扬机的效率是80%,求此电动卷扬机消耗的电能。

28. 如图甲所示,已知电源电压4.5V保持不变,电流表量程为0~0.6A,电压表量程为0~3V,滑动变阻器R的规格为“50Ω 2A”,灯泡L的规格为“4V 1.2W”,其电流与电压的关系图像如图乙。试求:
(1)灯泡正常发光时的电流;
(2)当滑片P滑到某一位置时,电压表的示数为2.5V,此时电路的总功率;
(3)在电路安全情况下,调节滑片P,当灯泡的电功率最小时,灯泡L的阻值;
(4)用一个阻值为30Ω的定值电阻
替换灯泡L,调节滑片P,当滑动变阻器的功率为0.15W时,滑动变阻器连入电路的阻值。

参考答案
一、选择题:本题共14小题,每小题3分,共42分。在每小题给出的四个选项中,第1~10题只有一项符合题目要求;第11~14题有多项符合题目要求,全部选对的得3分,选对但不全的得2分,有错选或不选的得0分。
【1题答案】
【答案】C
【2题答案】
【答案】A
【3题答案】
【答案】D
【4题答案】
【答案】A
【5题答案】
【答案】D
【6题答案】
【答案】C
【7题答案】
【答案】C
【8题答案】
【答案】B
【9题答案】
【答案】A
【10题答案】
【答案】B
【11题答案】
【答案】CD
【12题答案】
【答案】AB
【13题答案】
【答案】AC
【14题答案】
【答案】ABC
二、填空题:本题共8小题,每小题2分,共16分。
【15题答案】
【答案】 ①. 核聚变 ②. 一次
【16题答案】
【答案】 ①. 正 ②. 同种
【17题答案】
【答案】 ①. 向前 ②. 减小
【18题答案】
【答案】 ①. 运动 ②. 2.14
【19题答案】
【答案】 ①. 乙 ②. 丁
【20题答案】
【答案】 ①. 热值 ②. 2500
【21题答案】
【答案】 ①.
②. 7
【22题答案】
【答案】 ①. 在下降过程中拍摄月球表面照片 ②. 凸透镜成像规律,成的是倒立的缩小的实像
三、作图题:本题共2小题,每小题3分,共6分。
【23题答案】
【答案】
【24题答案】
【答案】
四、实验与探究题:本题共2小题,共15分。
【25题答案】
【答案】 ①. C ②. 高度差 ③. 乙、丙 ④. 控制变量 ⑤. 上窄下宽 ⑥. 800 ⑦. ![]()
【26题答案】
【答案】 ①.
②.
③. 滑动变阻器下方两个接线柱接入了电路 ④. 右 ⑤. 电压 ⑥. 10 ⑦. 2.5 ⑧. ![]()
五、计算与解答题:本题共2小题,共21分。要求写出必要的文字说明和重要的演算步骤,只写出最后答案的不得分。
【27题答案】
【答案】(1)4900N;(2)
;(3)9800J;(4)12500J
【28题答案】
【答案】(1)0.3A;(2)1.125W;(3)7.5Ω;(4)15Ω
