2023年江苏宿迁中考物理试题及答案
一、选择题(本题共12小题,每小题2分,共24分。每小题只有一个选项符合题意)
1.小明在课后实践活动中做了如下记录,其中符合实际的是( )
A.教室里课桌的高度约80cm B.人体感觉舒适的气温约37℃
C.物理课本的质量约1kg D.挂壁式空调的电功率约100W
2.关于粒子、宇宙及信息与能源的描述中,正确的是( )
A.导航仪利用超声波与卫星通信 B.太阳是恒星,它是宇宙的中心
C.花香四溢说明分子在不停地运动 D.水能、风能和核能都是可再生能源
3.“二十四节气”是中华民族智慧的结晶,关于节气中物质状态的形成说法正确的是( )
A.“谷雨”,雨的形成是汽化现象 B.“白露”,露的形成是液化现象
C.“霜降”,霜的形成是凝固现象 D.“小雪”,雪的形成是升华现象
4.下列关于光现象的描述,错误的是( )
A.我们的国旗——五星红旗是红色的,因为国旗反射了红光
B.《玄贞子》中记载“背日喷乎水,成虹霓之状”,因为太阳光是单色光
C.验钞机利用紫外线来显示钞票上隐藏的标记,因为紫外线能使荧光物质发光
D.坐在教室两侧的同学会看到“黑板反光”现象,因为光在黑板上发生了镜面反射
5.在以“自行车中的物理知识”为主题的小论坛上,小明列举的以下观点中错误的是( )
A.轮胎上有花纹——增大摩擦力
B.用铝合金做车架——可减轻车身质量
C.刹车把手是杠杆——可以省力
D.停止蹬车,车仍运动——车受到惯性作用
6.生活中,我们应“珍爱生命,规范用电”。下列说法错误的是( )
A.电热毯内电阻丝断了,接上后可继续使用
B.电冰箱的金属外壳一定要接地
C.不要用正在充电的手机接听电话
D.不要在高压电线下钓鱼
7.下列电路中,符合直行方向交通信号灯(只考虑红灯和绿灯)模拟设计的是( )
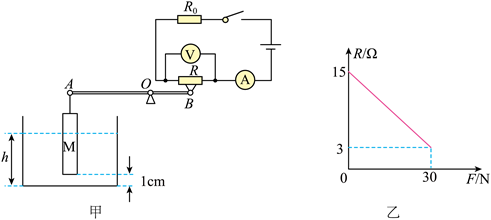
A.
B.
C.
D.
8.关于图中小明家的电能表,下列选项正确的是( )
A.电能表的示数为2023.6J
B.电能表能正常工作的最大电流是40A
C.电能表是测量电功率的仪表
D.脉冲指示灯闪的越快,电路消耗电能越多
9.图中是小明制作的简单电动机模型,其线圈由漆包线绕成,将线圈一端的漆全部刮掉,另一端只刮掉半周,在线圈的下面放置了一块磁体。将其接入电路中,闭合开关后,线圈转动起来了。关于此电动机模型下列说法正确的是( )
A.利用电磁感应原理工作
B.线圈在转动时,始终受到磁场作用力
C.将电能转化为机械能
D.增大线圈中的电流可改变转动方向
10.图中两个实验分别是“探究影响滑动摩擦力大小的因素”和“探究阻力对物体运动的影响”,以下分析正确的是( )

A.在图甲实验中,三次木块做匀速直线运动的速度应该相等
B.在图乙实验中,三次小车运动到水平面时的初速度应该相等
C.在图甲实验中,弹簧测力计可以不沿着水平方向拉动木块
D.在图乙实验中,小车所受阻力的改变可以通过在小车上放不同质量的砝码来实现
11.在科技晚会上,小明给大家展示了一个“听话”的小瓶子,通过调节滑片,就可以让小瓶子上浮、下沉或悬停在水中,它的原理如图所示(磁铁固定在活塞上)闭合开关S后,移动滑片P,使小瓶子悬停在图示位置。对此,以下分析正确的是( )
A.电磁铁的右端为S极
B.若将滑片P向右移,小瓶子将会上浮
C.小瓶子下沉时,小瓶子中的气体密度变小
D.小瓶子上浮时,小瓶子的瓶口处受到水的压强保持不变
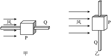
12.如图甲所示,重为G的正方体滑块P套在水平放置的方管Q上,在水平向右风力的作用下,滑块P向右做匀速直线运动。将方管Q按图乙竖直放置后,滑块P竖直向下运动。假设滑块P受到风力的大小和方向始终保持不变,其受到方管Q的摩擦力等于它们间压力大小的0.9倍,方管足够长且忽略空气阻力。关于图乙中的滑块P,下列说法正确的是( )
A.滑块P受到的摩擦力等于重力 B.滑块P先加速,然后匀速
C.滑块P先加速,后减速,最后静止 D.滑块P的动能一直增大
二、填空题(本题共6小题,每空1分,共18分)
13.琴和瑟是中华民族传统乐器,通过弹拨琴和瑟的弦可以发出悦耳动听的声音。琴和瑟可以发声,是由于弦的 产生的,能辨别两种乐器发出的声音,主要是依据声音的 不同。
14.我国载人月球探测工程登月阶段任务已启动实施,计划在2030年前实现中国人首次登陆月球。近期,学校举行了以“奔月”为主题的科技制作大赛。图甲是小华的参赛作品——用饮料瓶制作的“水火箭”,向瓶内打气,当瓶内气压增大到一定程度时,“水火箭”向下喷水从而获得升空的动力,这是利用物体间力的作用是 的,这个力的施力物体是 。小明准备制作一款如图乙所示的滑翔机模型,机翼的横截面应设计成图丙中 (填序号)的形状。

15.如图所示,电源电压不变将开关S、S1都闭合,灯泡L1与L2正常发光,两灯是 联,电流表测量 电流,此时断开S1,电流表的示数 (选填“变大”、“变小”或“不变”)。
16.反复弯折铁丝,铁丝弯折处会很烫,铁丝内能是通过 (选填“热传递”或“做功”)的方式增加,此能量的转化与四冲程汽油机的 冲程相同。某汽车百公里耗油5kg,这些汽油完全燃烧可放出的热量是 J。(q汽油=4.6×107J/kg)
17.某型号电饭锅有“高温烧煮”和“保温焖饭”两挡,其电路如图所示。当开关S置于1时,电流表示数为5A,此时电饭锅处于 挡,在此挡位下加热2.2kg的水,使其温度升高10℃,用时100s,电饭锅的加热效率为 ;当开关S置于2时,电流表的示数为0.1A,R的阻值为 Ω。若从做饭快的角度考虑,应选择功率更 的电饭锅。【c水=4.2×103J/(kg·℃)】
18.学校走廊的吸顶灯不亮了,其内部结构如图甲所示,主要由电源模块和21颗相同的LED灯珠串联组成,电路如图乙所示(灯泡符号
表示LED灯珠,省略号表示未画出的灯珠)。通过查阅资料获得该吸顶灯的信息如下:单个LED灯珠的额定电流为0.3A,额定电压为3.3V。电源模块输出的电压U可在40~90V范围内变化,从而使输出电流恒定为0.3A。
(1)通过检查,发现AB间的LED灯珠发生了 故障,导致所有灯珠都不亮;
(2)用一根导线将AB两点连接起来,接通电源后,该吸顶灯又亮了,这些发光的灯珠 (选填“能”或“不能”)正常发光,此时吸顶灯的功率为 W。
三、解答题(本题共7小题,19题6分,20~23题每空1分,23题作图2分,24题9分,25题9分,共48分,解答24、25题时应写出必要的解题过程)。
19.如图所示,一束光沿AO从空气斜射入水中,请画出折射光线的大致方向。

20.图中的铁锤正在敲打钉子,请画出铁锤对钉子作用力F的示意图。
21.请用笔画线表示导线,将图中的螺丝口电灯、开关和插座接入家庭电路中。

22.小明用图甲所示装置“探究水的沸腾特点”。
(1)组装实验装置时,要保证用酒精灯的外焰加热,应先调整 (选填“烧杯”或“温度计”)的位置;
(2)实验中,水温升到90℃开始,每隔1min读一次温度并记入表格,第3min时温度计示数如图乙,读数是 ℃;
时间/min | 0 | 1 | 2 | 3 | 4 | 5 | 6 |
水的温度/℃ | 90 | 92 | 94 |
| 98 | 98 | 98 |
(3)由实验数据可知,水在沸腾时的温度特点是 ;
(4)观察到气泡如图丙所示,这是水沸腾 (选填“前”或“时”)的现象。实验结束后撤去酒精灯,水还能继续沸腾一小会,这说明水沸腾时不需要吸热,这种判断是否正确: 。
23.在实验操作大赛上,小明与小华分别展示了下面两个实验:
(1)图甲是小明展示的“探究平面镜成像特点”的实验,他在透明玻璃板中既能够看到蜡烛A的像,同时又能看见玻璃板后的蜡烛B,这是因为在玻璃与空气分界面处分别发生了 、 (选填“光的直线传播”、“光的反射”或“光的折射”);
(2)图乙是小华展示的“探究凸透镜成像规律”的实验,凸透镜的焦距为10cm,当各元件位于图中的位置时,光屏上承接到清晰的像,这个像是倒立、 的实像。将蜡烛移至5cm刻度线处,其他元件的位置不变,若使清晰的像呈现在光屏上需在蜡烛与透镜间放置一个 眼镜。
24.小明利用托盘天平和图甲所示的注射器测量鸡蛋清的密度。
(1)将天平放在 台面上,把 移至标尺的零刻度线处,发现指针静止时的位置如图乙所示,应将平衡螺母向 端调节,直至天平横梁平衡;
(2)接下来进行了如下操作:
A.用天平测出注射器的质量为10g;
B.用注射器吸取部分蛋清,从注射器上读出体积为16mL;
C.用天平测出蛋清和注射器的总质量为m,如图丙所示,m= g。
(3)根据以上数据可知,蛋清的密度ρ= g/cm3。实验后,小明发现注射器的尖端还有一点小“空隙”,“空隙”里也充满了蛋清,这会导致测得的密度比真实值偏 。
25.用图甲所示电路“探究电流与电阻的关系”。电源电压为4.5V不变,滑动变阻器规格为“20Ω 1A”,有4Ω、6Ω、8Ω、10Ω、12Ω的定值电阻各一个。
(1)用笔画线代替导线把图甲电路连接完整,要求:当滑片P向左滑动时,变阻器接入电路的电阻变大;
(2)连接电路时,开关应该 (选填“断开”或“闭合”);
(3)先接入12Ω定值电阻,闭合开关,移动变阻器的滑片P至合适位置,电压表的示数如图乙所示,示数为 V,记下电流表的示数。断开开关,将12Ω电阻换成10Ω后,闭合开关,移动变阻器的滑片P使 表的示数与前一次相同,记录相关数据;
(4)依次改变电阻R的阻值,共测得五组实验数据,根据实验数据,在图丙的坐标系中描绘出I~R图像为曲线A;
①由图像可得出的结论是: ;
②根据上面所测的五组实验数据,把每次实验时记录的电流值和对应变阻器RP的阻值,在图丙坐标系中描成点,将这些点绘成曲线B,发现曲线B与曲线A (选填“有交点”或“无交点”),其原因是 ;
③本实验的主要研究方法是“控制变量法”,下列物理教材中的实验,没有用到“控制变量法”的有 。
A.探究二力平衡的条件
B.探究影响液体内部压强的因素
C.用电流表和电压表测量定值电阻的阻值
26.如图是一款爬绳机,这款爬绳机可以不消耗人的体能,轻松攀爬、下降,可用于消防救援、矿井救援及桥梁检测维修等等。爬绳机的质量为10kg,静止在水平地面上时与地面的接触面积为0.1m2。在某次爬升中,将一个质量为70kg的工人从地面匀速提升12m高,用时1min。(g取10N/kg)求:
(1)爬绳机上升的速度为多少m/s?
(2)爬绳机静止在水平地面上时,对地面的压强大小。
(3)爬绳机对工人做功的功率大小。
27.图甲所示是一种自动测定水箱内水面高度的装置。电源电压恒为4.5V,电流表的量程为0~0.6A,电压表的量程为0~3V,R0是定值电阻,R是压力传感器。R的位置固定不动,其电阻随压力的变化关系如图乙所示。杠杆AB可绕O点转动,A端悬挂一重为15N的圆柱体M,M的底面积为45cm2,高为30cm,下底面距离容器底1cm,杆B端始终压在传感器R上。AO长30cm,OB长15cm,杆重忽略不计,杆始终静止在水平位置。(ρ水=1.0×103kg/m3,g取10N/kg)
(1)水箱内水面高度h小于1cm时,求压力传感器R受到杆B端的压力大小。( )
(2)水箱内水面高度h小于1cm时,电流表的示数为0.5A,求R0的阻值。( )
(3)水箱内水面高度h大于1cm时,随着水面的升高,用于显示水面高度的电表示数会增大,应该选用图甲电路中的 表显示水面高度。该装置能显示水面的最大高度h最大是 cm。将支点O适当向 (选填“左”或“右”)移动,可增大该装置显示水面的最大高度h最大。
参考答案及解析
1.A
【详解】A.中学生身高约160cm,教室课桌的高度约为中学生身高的一半,大约80cm,故A符合题意;
B.人体正常体温在37°C左右,感觉舒适的温度在25°C左右,故B不符合题意;
C.物理课本的质量约150g,故C不符合题意;
D.挂壁式空调的电功率约1000W,故D不符合题意。
故选A。
2.C
【详解】A.声波不可以在真空中传播,而电磁波可以在真空中传播,故导航仪是利用电磁波与卫星通信,故A错误;
B.太阳是宇宙中的一颗恒星,但不是宇宙的中心,故B错误;
C.花香四溢属于扩散现象,说明分子在不停地做无规则运动,故C正确;
D.水能和风能都可以从自然界源源不断的获取,是可再生能源,核能是不可再生能源,故D错误。
故选C。
3.B
【详解】A.雨是空中的水蒸气遇冷液化形成,故A错误;
B.露是空中的水蒸气遇冷液化形成,故B正确;
C.霜是空中的水蒸气遇冷凝华形成,故C错误;
D.雪是空中的水蒸气遇冷凝华形成,故D错误。
故选B。
4.B
【详解】A.不透明物体的颜色由其反射的光来决定,所以五星红旗是红色的,因为国旗反射了红光,故A正确,A不符合题意;
B.根据牛顿光的色散现象可知,光是由七种单色混合而成,不是单色光,故B错误,B符合题意;
C.根据紫外线的应用可知,紫外线可以使荧光物质发光,所以在验钞机上应用,故C正确,C不符合题意;
D.因为镜面反射只有在特定的角度才能观察到物体,其他位置无法观察到物体,所以“黑板反光”现象是因为发生了镜面反射,故D正确,D不符合题意。
故选B。
5.D
【详解】A.轮胎上有花纹是在压力一定时,通过增加接触面的粗糙程度来增大摩擦力,故A正确,不符合题意;
B.车架为铝合金材质,密度较小,在体积相等的情况下,整车质量越小,可减轻质量,故B正确,不符合题意;
C.自行车的车把相当于杠杆,且动力臂大于阻力臂,所以刹车把手属于省力杠杆,故C正确,不符合题意;
D.停止蹬车,车还能继续向前运动,是因为车具有惯性,惯性是物体本身的一种属性,不是力,不能说车受到惯性作用,故D错误,符合题意。
故选D。
6.A
【详解】A.电热毯内电阻丝断了,接上后导致电热毯内部的电阻发生改变,从而使电热毯不能正常工作,存在安全隐患,故A错误,A符合题意;
B.带有金属外壳的用电器,为防止人触摸金属外壳时发生触电,所以需要金属外壳接地线,故B正确,B不符合题意;
C.正在充电的手机,接打电话时,容易因发生漏电而使人触电,故C正确,C不符合题意;
D.在高压电线下钓鱼,钓鱼线接触到高压线时,容易发生触电,故D正确,D不符合题意。
故选A。
7.C
【详解】A.两灯是串联关系,因此工作时相互影响,故A不符合题意;
B.闭合开关S1和S2时绿灯亮,只闭合开关S1时红灯绿灯都亮,故B不符合题意;
C.闭合开关S1,开关S2接触上接线柱时绿灯亮;闭合开关S1,开关S2接触下接线柱时红灯亮,两灯工作互不影响,故C符合题意;
D.当只闭合开关S1时,红灯发光;闭合开关S1和S2时,红灯和绿色同时亮,故D不符合题意。
故选C。
8.B
【详解】A.电能表的示数为2023.6kW·h,故A错误;
B.10(40)A表示该电能表的标定电流为10A,额定最大电流为40A,故B正确;
C.电能表是测量用电器消耗电能的仪表,故C错误;
D.脉冲指示灯闪的越快,表示电路消耗电能越快,即接在这个电能表的用电器电功率越大。故D错误。
故选B。
9.C
【详解】A.此实验利用通电线圈在磁场中受到力的作用,故A错误;
B.由于线圈中有一端的漆只刮掉半周,会出现电路中无电流状态,当线圈转到该位置处,由于线圈中无电流,所以不会受到磁场力的作用,故B错误;
C.电动机消耗电能而转动起来,能量转化为电能转化为机械能,故C正确;
D.增大线圈中的电流,会改变线圈受到磁场力的大小,而不会改变受力的方向,故D错误。
故选C。
10.B
【详解】AC.图甲是“探究影响滑动摩擦力大小的因素”的实验,实验过程中根据二力平衡木块需沿着水平方向做匀速直线运动,此时摩擦力等于弹簧测力计对木块的拉力,可以通过测力计示数知道大小,滑动摩擦力受压力的大小与接触面的粗糙程度有关,与物体运动的速度无关,所以三次木块做匀速直线运动的速度不用相等,故AC错误;
B.图乙实验是“探究阻力对物体运动的影响”,实验过程中应控制小车到达水平面的速度相同,故B正确;
D.图乙实验是“探究阻力对物体运动的影响”,如果小车上放不同质量的砝码小车到达水平的速度就不同,而小车所受阻力的改变是通过改变接触面的粗糙程度来实现的,故D错误。
故选B。
11.B
【详解】A.由图可知,该电路为串联电路,电流从螺线管的右侧流入,根据安培定则可知,电磁铁的右端是N极,故A错误;
B.若将滑片P向右移,滑动变阻器接入电路的阻值变大,电路的电流变小,电磁铁的磁性变弱,电磁铁与磁铁排斥作用变小,活塞向左运动,大瓶内空气气压变小,小瓶子的水会挤出来,小瓶子重力变小,重力小于浮力,小瓶子将上浮,故B正确;
C.小瓶子进水重力大于浮力下沉时,故小瓶子上面的空气的体积会变小,质量不变,故密度变大,故C错误;
D.小瓶子上浮时,根据
可知小瓶子的瓶口处受到水的压强变小,故D错误。
故选B。
12.D
【详解】对图甲进行受力分析,滑块P竖直方向上受到重力G和方管Q对它向上的支持力是一对平衡力,滑块P对方管Q的压力与方管Q对它向上的支持力是相互作用力,所以滑块P对方管Q的压力等于滑块P的重力,即
;其受到方管Q的摩擦力
![]()
又滑块P在水平向右风力的作用下向右做匀速直线运动,故风力等于摩擦力
![]()
对图乙竖直方向上进行受力分析,其竖直方向受到竖直向下的重力,竖直向上的摩擦力。
A.图乙中,滑块P受到方管Q的摩擦力
![]()
则f乙﹤G,故A错误;
BC.由于竖直向上的摩擦力小于竖直向下的重力,故滑块P向下做加速运动,故BC错误;
D.由于滑块P的速度一直增大,质量不变,所以动能一直增大,故D正确。
故选D。
13. 振动 音色
【详解】[1]声是由物体的振动产生的,琴和瑟可以发声,是由于弦的振动产生的。
[2]不同乐器的材料结构不同,发出的声音音色不同,辨别琴和瑟发出的声音,是依据声音的音色不同。
14. 相互 水 A
【详解】[1] [2]水火箭升空利用的是“反冲力”,即高压气体将水向下喷射出去,对水施加一个向下的力,物体间的力都是相互的,水对火箭施加一个向上的力,火箭就升空了。所以这个力的施力物体是水。
[3]飞机获得升力靠飞机机翼上凸下平的形状,使得机翼上面流速大,压强小,下方流速慢,压强大,从而产生一个向上的压力差,使得飞机飞起来,故应选择A形状。
15. 并 L2 不变
【详解】[1]分析电路图可知,电流的路径有两条,一条经过L2和电流表,另外一条经过S1和灯泡L1,所以电路为并联电路。
[2]分析电路可知,电流表和L2在同一条支路上,所以测L2的电流。
[3]断开S1,L1所在支路为断路,因为并联电路中各用电器互不影响,所以电流表的示数不变。
16. 做功 压缩 ![]()
【详解】[1]反复弯折铁丝是通过做功的方式使铁丝的内能增加,此过程是机械能转化为内能。
[2]四冲程汽油机的压缩冲程中活塞对燃料混合物做功,使燃料混合物的内能增加,是机械能转化成内能。
[3] 某汽车百公里耗油5kg,这些汽油完全燃烧可放出的热量
![]()
17. 高温烧煮 84% 2156 高
【详解】[1]当开关S置于1挡时,电阻R短路,为R0的简单电路,当开关S置于2挡时,两电阻串联,由串联电阻总电阻大于其中任一电阻。根据
可知,开关S置于1档时,电路电阻最小,电功率最大,因此电饭锅处于高温烧煮档。
[2]高温烧煮档加热100s,消耗电能
![]()
加热2.2kg的水,使其温度升高10℃,吸收热量为
![]()
电饭锅的加热效率为
![]()
[3] 当开关S置于1挡时,电阻R短路,为R0的简单电路,此时电流表示数为5A,那么
![]()
当开关S置于“2”挡时,电路的为串联电路,此时电路总电阻为
![]()
那么R电阻为
![]()
[4]若从做饭快的角度考虑,其他条件一定时,电饭锅电功率大,做饭更快一些。
18. 断路##开路 能 66
【详解】[1]21颗相同的LED灯珠串联组成,所有灯珠将不亮,说明电路中没有电流通过,可能是AB间的LED灯珠发生了断路。
[2]电源模块输出的电压U可在40~90V范围内变化,从而使输出电流恒定为0.3A。所以AB两点一个灯珠坏了,用导线将AB两点连接起来,电源模块会调节输出电压,使得灯珠可以正常发光。
[3]吸顶灯输出电流恒定为0.3A,家庭电路电压为220V,故
![]()
19.
【详解】首先过入射点O垂直于水面画出法线,然后根据折射规律画出折射光线;光从空气斜射入水中,所以折射角小于入射角,如下图所示:

20.
【详解】钉子受到铁锤对它的作用力方向向左,作用点在钉子上, 如图所示:
21.
【详解】三孔插座和带开关的电灯并联在电路中,三孔插座的连线方式是:左零右火上地;带开关的电灯的连线是火线接开关,开关与电灯串联,零线连接电灯的螺纹套,如图所示:

22. 烧杯 96 持续吸热,温度不变 时 见解析
【详解】(1)[1]因为实验中要用酒精灯的外焰加热,且温度计的玻璃泡不能接触到容器的底部,所以需要先调整烧杯。
(2)[2]由图乙可知,温度计的分度值为1℃,刻线往上示数越大,所以读数为96℃。
(3)[3]根据实验数据分析可知,水在沸腾过程中需要持续吸热,温度保持不变。
(4)[4]图丙中气泡往上越来越大,说明水蒸气含量越来越多,所以说明是沸腾时的气泡图像。
[5]不正确,因为撤去酒精灯,由于石棉网的温度高于水的沸点,所以水不会立即停止沸腾,不能说明水沸腾时不需要吸热。
23. 光的反射 光的折射 缩小 近视
【详解】(1)[1]根据平面镜成像原理可知,看到蜡烛A的像,是因为发生光的反射形成的虚像。
[2]透过玻璃板,能看到玻璃板后的蜡烛B,光经过不同的介质,发生光的折射。
(2)[3]由图乙可知,凸透镜的焦距是10cm,此时的物距大于2倍焦距,根据凸透镜成像规律可知,成倒立、缩小的实像。
[4]将蜡烛移至5cm刻度线处,此时物距变大,根据凸透镜成像规律可知,所成的像靠近凸透镜,而保持光屏位置不变,说明所加的镜片对光线具有发散的作用,所以放置的是近视眼镜。
24. 水平 游码 右 26.8 1.05 大
【详解】(1)[1] [2]天平使用前,应将天平放在水平台面上,接下来调节游码至零刻度线处。
[3]天平指针指在分度盘的左侧,说明左侧的质量偏大,平衡螺母应该向右边调节,直到天平平衡。
(2)[4]由丙图可知,天平的分度值为0.2g,此时蛋清和注射器的总质量为26.8g。
(3)[5]蛋清的质量为
![]()
蛋清的体积为
V=16mL=16cm3
蛋清的密度
![]()
[6]小明发现注射器的尖端还有一点小“空隙”,“空隙”里也充满了蛋清,那么蛋清的体积会偏小,导致密度偏大。
25.
断开
2.4 电压
当电压一定时,通过导体的电流与导体的电阻成反比 无交点 见解析 C
【详解】(1)[1]“探究电流与电阻的关系”的实验,滑动变阻器与定值电阻串联,电压表并联在定值电阻两端,当滑片P向左滑动时,变阻器接入电路的电阻变大,故滑动变阻器应接右下的接线柱,如图所示:
(2)[2]为了保护电路,所以连接电路时,开关应断开。
(3)[3]由图乙可知,电压表所选量程为0~3V,分度值为0.1V,故图乙电压表的示数为2.4V。
[4]根据串联分压原理可知,将定值电阻由12Ω改接成10Ω的电阻,电阻减小,其分得的电压减小;“探究电流与电阻关系”的实验中应保持电阻两端的电压不变,所以应移动变阻器的滑片P使电压表的示数与前一次相同,记录相关数据。
(4)①[5]由图像丙可知,电流与电阻的乘积
为一定值,且电流随电阻的增大而减小,故可得出的结论是:当电压一定时,通过导体的电流与导体的电阻成反比。
②[6][7]“探究电流与电阻关系”的实验中应保持电阻两端的电压不变,又电源电压不变,所以滑动变阻器两端的电压也不变,且定值电阻与滑动变阻器串联,故电流相等;由图像丙可知,定值电阻两端的电压保持在2.4V不变,故滑动变阻器两端的电压保持在2.1V不变,由串联分压可知,每次实验滑动变阻器接入电路的阻值都比定值电阻小,把每次实验时记录的电流值和对应变阻器RP的阻值,在图丙坐标系中描成点,将这些点绘成曲线B,发现曲线B与曲线A无交点。
③[8]A.“探究二力平衡的条件”实验,采用的是控制变量法;故A不符合题意;
B.“探究影响液体内部压强的因素”采用的是控制变量法;故B不符合题意;
C.“用电流表和电压表测量定值电阻的阻值”是一个测量型实验,利用多次测量求平均值减小误差,没有采用控制变量法,故C符合题意。
故选C。
26.(1)0.2m/s;(2)1000Pa;(3)140W
【详解】解:(1)爬绳机上升高度h=12m,用时
![]()
爬绳机上升的速度
![]()
(2)爬绳机静止在水平地面上时,对地面的压力
![]()
静止在水平地面上时与地面的接触面积为0.1m2,则对地面的压强
![]()
(3)爬绳机对工人的作用力
![]()
由于工人与爬绳机相对静止,故爬升的速度相同,所以爬绳机对工人做功的功率
![]()
答:(1)爬绳机上升的速度为0.2m/s;
(2)爬绳机静止在水平地面上时,对地面的压强为1000Pa;
(3)爬绳机对工人做功的功率为140W。
27. 30N 6Ω 电压 26 右
【详解】(1)[1]水箱内水面高度h小于1cm时,圆柱体M没有受到浮力的作用,则杠杆A端受到的作用力
![]()
根据杠杆平衡条件可知,压力传感器R受到杆B端的压力
![]()
(2)[2]水箱内水面高度h小于1cm时,压力传感器R受到杆B端的压力为30N,由图像乙可知,此时R=3Ω。
由图甲可知,R与R0串联,电流表的示数为0.5A时,电路总电阻为
![]()
R0的阻值
![]()
(3)[3]水箱内水面高度h大于1cm时,随着水面的升高,圆柱体M收到的浮力变大,作用在杠杆A端受到的力变小,则压力传感器R受到杆B端的压力变小,由图像乙可知,R的阻值变大,总电阻变大,电流变小,即电流表的示数变小,由于R0不变,由
可得R0两端的电压变小,则R两端的电压变大,即电压表示数变大,故应该选用图甲电路中的电压表显示水面高度。
[4]由题意可知,水面高度越大,压力传感器R受到杆B端的压力越小,R的阻值越大。当电压表的示数最大时,水面最高,当电压表的示数Umax=3V时,R0两端的电压
![]()
电路中的电流
![]()
则R接入电路的电阻
![]()
由图像乙可得R~F的函数式
![]()
则当R的电阻为12Ω时,F=7.5N,即压力传感器R受到杆B端的压力为7.5N,则杠杆A端的作用力
![]()
则圆柱体M受到的浮力为
![]()
圆柱体M排开水的体积
![]()
圆柱体M浸入水中的深度
![]()
该装置能显示水面的最大高度h最大
![]()
[5]在B端作用力不变的情况下,支点O向右移动,L2变小,L1变大,根据杠杆平衡条件可得,杠杆A端受到的作用力变小,则圆柱体M受到的浮力变大,则要增大该装置显示水面的最大高度h最大。
