2022年海南中考生物试题及答案
一、选择题
1. 生物体结构和功能的基本单位是( )
A. 细胞 B. 组织 C. 器官 D. 系统
2. 下列生态系统中自我调节能力最强的是( )
A. 草原生态系统 B. 农田生态系统 C. 湿地生态系统 D. 森林生态系统
3. 下列属于海洋动物的是( )
A. 鲨鱼 B. 涡虫 C. 水螅 D. 草履虫
4. 下列人体疾病与激素无关的是( )
A. 夜盲症 B. 甲亢 C. 糖尿病 D. 侏儒症
5. 成分输血以“缺什么补什么”为原则,严重贫血患者治疗时应输入( )
A. 红细胞 B. 白细胞 C. 血小板 D. 血浆
6. “一日三餐,米香弥漫,饱食者当常忆袁公。”袁隆平院士毕生研究的是( )
A. 杂交水稻 B. 高产奶牛 C. 克隆羊 D. 太空椒
7. 古诗词是中华文化瑰宝,深受人民喜爱。下列诗句中不包含生命现象的是( )
A. 野火烧不尽,春风吹又生 B. 两岸猿声啼不住,轻舟已过万重山
C. 红豆生南国,春来发几枝 D. 孤山寺北贾亭西,水面初平云脚低
8. 某同学利用两片木板、两条松紧带和一颗螺丝钉做成一个骨-关节-肌肉关系的模型,其中木板代表( )

A. 骨 B. 关节 C. 骨骼肌 D. 肌腹
9. 下列行为或做法合理的是( )
A. 经常喝果汁等饮料代替饮水 B. 为了身体发育只吃肉不吃青菜
C. 早餐吃得少,通过多吃午餐来弥补 D. 购买食品时仔细查看包装上的生产日期、保质期等信息
10. 下图是科学家培育抗虫棉的过程示意图,以下叙述错误的是( )

A. 该过程应用了杂交技术 B. 该技术可以定向改良植物品种
C. 棉花具有抗虫性的变异属于可遗传变异 D. 该技术说明了基因控制生物的性状
11. 下列与“千里之堤,溃于蚁穴”所描述的生物与环境关系相同的选项是( )
A. 草盛豆苗稀 B. 大树底下好乘凉 C. 骆驼刺根系发达 D. 北极熊皮下脂肪很厚
12. “冰墩墩”是2022年北京冬奥会的吉祥物,它是一个熊猫的形象,熊猫主要以竹子为食,下列关于熊猫和竹子的叙述,错误的是( )

A. 它们具有不同的组织
B. 竹子的叶和熊猫的心脏都属于器官
C. 它们的结构层次都是细胞→组织→器官→系统→个体
D. 各自在结构和功能上是一个统一的整体
13. 如图是植物细胞结构和功能概念图,甲乙表示结构,①②表示功能,有关叙述不正确的是( )

A. 甲表示线粒体 B. ①表示支持和保护
C. 乙表示细胞核 D. ②表示能控制物质进出
14. 光合作用、呼吸作用、蒸腾作用是植物的基本生理过程,人们将其应用于生产实践,以下相关说法不正确的是( )
A. 合理密植能充分利用光能提高农作物产量
B. 夜间对火龙果进行适当光照是为了增加光合作用产物
C. 移栽树木时剪去部分枝叶主要是为了降低蒸腾作用
D. 温室大棚适当增加二氧化碳有利于增强呼吸作用
15. 下图是某同学为探究植物光合作用、呼吸作用和蒸腾作用而设计的实验装置,下列有关叙述不正确的是( )

A. 将甲装置放在光下,①中收集到的气体能使带火星的卫生香复燃
B. 乙装置透明袋内壁出现小水珠,说明植物进行了蒸腾作用
C. 用乙装置探究蒸腾作用时,可改进为用透明袋包住整个花盆并扎紧
D. 将乙装置放在黑暗处一昼夜,用手挤压透明袋,②中澄清的石灰水会变浑浊
16. 某实验小组探究三种动物的绕道取食行为,得到如下结果。
动物 | 甲 | 乙 | 丙 |
成功取食前的尝试次数 | 130 | 50 | 12 |
分析数据可知,三种动物从高等到低等的顺序最可能是( )
A. 甲→乙→丙 B. 乙→丙→甲 C. 丙→乙→甲 D. 丙→甲→乙
17. 下列属于相对性状的是( )
A. 绵羊的卷毛和山羊的直毛 B. 番茄的红果和樱桃的红果
C. 玉米的黄粒和甜粒 D. 爸爸的有酒窝和妈妈的无酒窝
18. 山柳菊有时进行有性生殖有时进行无性生殖,且花很小,难以做人工杂交实验。下列有关山柳菊的说法错误的是( )
A. 进行无性生殖时,后代的遗传信息全部来自母体
B. 进行有性生殖时,同一亲本的后代性状表现可能差异很大
C. 有性生殖时产生两性生殖细胞,通过受精作用产生新个体
D. 决定山柳菊花很小的根本原因是它有时进行无性生殖
19. 6月26日是“国际禁毒日”,下列有关毒品
说法不正确的是( )
A. 毒品具有成瘾性,一旦染上很难戒除 B. 吸毒会严重损害身心健康、危害社会
C. 冰毒、可卡因、酒精都是毒品 D. 吸毒者常共用注射器很容易感染艾滋病、肝炎等传染病
20. 下列关于安全用药和急救,说法正确的是( )
A. 可以自行购买处方药 B. 药吃得越多,病好得越快
C. 大静脉出血,需按压近心端止血 D. 进行人工呼吸时首先要使病人的呼吸道畅通
21. 下列诗句中有关生命现象与所对应的直接影响因素,不匹配的是( )
选项 | 诗句 | 直接影响因素 |
A | 人间四月芳菲尽,山寺桃花始盛开 | 温度 |
B | 近水楼台先得月,向阳花木早逢春 | 光照 |
C | 日光斜照集灵台,红树花迎晓露开 | 土壤 |
D | 随风潜入夜,润物细无声 | 水分 |
A. A B. B C. C D. D
22. 下图是制作洋葱鳞片叶内表皮细胞临时装片的几个步骤,其正确的顺序是( )

A. ④②①③⑤⑥ B. ②④③①⑥⑤ C. ④②③①⑤⑥ D. ②④③①⑤⑥
23. 下列有关消化和吸收的说法错误的是( )
A. 胆汁中的消化酶可以乳化脂肪 B. 唾液既有消化作用,又有免疫作用
C. 小肠内壁有大量的肠腺有利于消化 D. 胃壁内有胃腺,可分泌含有胃蛋白酶的胃液
24. 下列关于动物行为的叙述,正确的是( )
A. 动物的学习行为一旦形成,就不会改变
B. 蜜蜂的筑巢行为是由体内的遗传物质决定的
C. 婴儿吮吸乳汁是建立在遗传因素基础上的学习行为
D. 从行为获得的途径来看,动物的行为大致分为先天性行为和社会行为
25. 如图是几种常见的动物,下列有关说法不正确的是( )

A. 甲和丙属于脊椎动物,乙属于无脊椎动物
B. 甲是变温动物,乙和丙是恒温动物
C. 甲的肺和皮肤都能进行气体交换
D. 甲、乙、丙三种动物的生殖方式都是卵生
26. 下列叙述正确的是( )
A. 酿造米酒过程中需始终提供充足的氧气
B. 食物冷藏不易变质是因为低温杀死了细菌和真菌
C. 制作泡菜时密封坛子,目的是使坛子内形成缺氧环境
D. 制作酸奶时,将牛奶煮沸是为了抑制其中杂菌
生长和繁殖
27. 人的成熟红细胞、精子、血小板、神经元内染色体的条数分别是( )
A. 46、0、0、23 B. 0、23、0、46 C. 46、0、46、23 D. 0、23、46、46
28. 如图表示某农田生态系统的食物网,有关说法错误的是( )

A. 除甲外,其余生物都是消费者
B. 丁与丙既有捕食关系,又有竞争关系
C. 共有4条食物链,最长的食物链中有4种消费者
D. 该食物网没有分解者,戊获得能量和积累毒素最多
29. 下图是某同学制作并观察人口腔上皮细胞临时装片的有关图示。下列说法正确的是( )

A. 使用显微镜时只能通过①调节亮度 B. 欲使观察到的细胞数目多,应选物镜②
C. ④所示的操作是往载玻片上滴加生理盐水 D. 要将⑤移到视野中央,应将装片向左上方移动
30. 如图为人体平静呼吸时肺容积变化曲线,下列说法错误的是( )

A. 曲线bc段,肋间肌收缩 B. 曲线cd段,膈顶上升
C. b点肺内气压小于c点 D. 曲线bcd表示一次呼吸过程
31. 下表是某健康人肾动脉中的血浆、肾小囊及肾小管末端液体内甲、乙两种物质的浓度,据此判断,甲、乙分别是( )
| 血浆 | 肾小囊中 | 肾小管末端 |
甲 | 0.72% | 0.75% | 1.25% |
乙 | 0.1% | 0 | 0% |
A. 甲是尿素,乙是无机盐 B. 甲是无机盐,乙是葡萄糖
C. 甲
葡萄糖,乙是尿素 D. 甲是蛋白质,乙是葡萄糖
32. 下图是心脏工作示意图,下列分析错误的是

A. 甲图中,心房收缩,心室舒张,血液由心房流向心室
B. 乙图中,心室收缩,心房舒张,血液由心室流向动脉
C. 丙图中,心房心室均收缩,血液充满四个心腔
D. 心脏工作过程中,心脏内的瓣膜总是交替开闭的
33. 猫的耳朵有卷耳和非卷耳之分,卷耳猫和非卷耳猫杂交产生的子一代(第一代)猫都是非卷耳,子一代猫杂交后产生的子二代(第二代)猫非卷耳和卷耳比例为3:1。下列说法不正确的是( )
A. 非卷耳是显性性状 B. 控制猫耳性状的基因位于DNA上
C. 子二代中非卷耳猫的基因组成都是相同的 D. 猫耳形状是由基因和环境共同作用的结果
34. 生命的延续依赖生物的生殖和发育,下列叙述正确的是( )

A. 图一中的1是果实
B. 图二中胎儿通过bc从母体获得所需要的营养物质和氧
C. 图三中的②将来可发育成雏鸟
D. 图四表示昆虫的发育过程,若乙为家蚕的幼虫,则丁为蛹
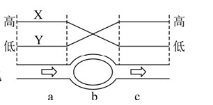
35. 如图所示血液流经人体器官b时,血液中有关物质含量的变化趋势可用曲线X或Y表示。下列说法错误的是( )

A. 若b代表肺,则曲线X表示二氧化碳含量的变化
B. 若b代表肾脏,则曲线X表示尿素含量的变化
C. 若b代表小肠,则曲线Y表示饭后葡萄糖含量的变化
D. 若b代表眼球,则曲线Y表示氧气含量的变化
二、非选择题
36. 阅读并分析下面资料,回答问题。
资料一:2022年4月11日,习近平总书记到海南热带雨林国家公园五指山片区调研时强调“海南以生态立省,海南热带雨林国家公园建设是重中之重”。
资料二:海南热带雨林国家公园是我国首批5个国家公园之一,拥有全国分布最集中、保存最完好、连片面积最大的大陆性岛屿型热带雨林。初步统计海南热带雨林国家公园有野生维管植物210科1159属3653种,占全国的11.7%。国家一级保护植物7种,如海南苏铁、坡垒等。陆栖脊椎动物5纲38目145科414属540种,占全国的18.62%。国家一级保护野生动物14种,如海南长臂猿、海南坡鹿、海南山鹧鸪、穿山甲等。
资料三:2022年4月10日,习近平总书记到中国海洋大学三亚海洋研究院时强调“要努力用我们自己的装备开发油气资源,提高能源自给率,保障国家能源安全”。海底的石油、天然气等资源,统称为海底油气资源。浅海海水中溶解氧浓度高,光照充分,饵料丰富,海洋生物得以快速繁衍。大量海洋生物死亡后随着泥沙沉降到海底后,产生数量惊人的有机碳,构成了生产海底油气的“原料”。海底油气是在一定的温度和压力条件下,由大量有机物经过漫长复杂的物理、化学、地质等作用形成的。
(1)“海南以生态立省”,作为一名中学生你能做的是______。(写出一条即可)
(2)资料二中,有关生物的数据直接体现了______的多样性,提到的四种动物中亲缘关系最近的是______。
(3)资料三中,浅海处的生产者通过_______将光能转化为化学能,然后通过_____传给消费者、分解者,在这个过程中进行着______。
37. 我国外科专家侯春林首创“跟腱―脊髓中枢一膀胱”人工反射弧重建术,解决了脊髓损伤导致的膀胱功能障碍难题。具体做法是:分别剪断患者支配跟腱及膀胱的传出神经,然后将二者进行显微手术缝合,获得一个新的“跟腱―脊髓中枢―膀胱”完整反射弧,如图所示。患者通过敲击跟腱引起反射促使膀胱排尿。回答下列问题:

(1)人体形成尿液的器官是______。
(2)有的患者因为脊髓损伤,膀胱内的尿液达到一定量时,也不会在______产生尿意的感觉。
(3)从反射类型看,患者敲击跟腱促使膀胱排尿属于______反射,其反射弧的感受器位于_____(填图中字母),神经中枢位于______(填图中字母)。
38. 2022年元月以来,多地出现新冠疫情,在党中央的正确领导下,全国人民齐心协力使疫情得到有效控制,请回答下列问题:
(1)本轮新冠肺炎主要由奥密克戎病毒引起,从传染病角度看,该病毒属于______。
(2)新冠病毒出现了德尔塔和奥密克戎等多种类型,其根本原因是新冠病毒结构中的______发生改变。
(3)从免疫的类型来看,人体通过接种新冠疫苗获得的免疫属于______免疫。
(4)用新冠肺炎康复者
血浆可治疗该病的危重患者,你认为可能的原因是康复者血浆中含有大量的______。
(5)疫区人们采取了以下措施,其中属于切断传播途径的是(填序号)______。
①合理使用口罩与呼吸器;②接种疫苗;③保护眼部、及时手部消毒;④隔离病人
39. 种子是农业的“芯片”。某兴趣小组研究种子植物菜豆的一生,测量并记录种子萌发过程中相关质量变化,还探究了温带地区水稻种子萌发的条件,据图回答问题:

(1)图一中④是由______(填图一中序号)发育而来。
(2)图一中豆荚内有五粒种子,推测发育成该豆荚的子房内至少有______个胚珠。
(3)图二曲线表示种子萌发过程中有机物质量变化,a点所示在相同时间内光合作用制造的有机物______(填>、=或<)呼吸作用分解的有机物。
(4)生长在温带的水稻,干种子在春天播种时经过适宜的前期处理更有利于在短期内萌发。为探究种子萌发前期处理的最佳条件,现取400粒结构完整的、活的干种子,均分为甲、乙、丙、丁四组,处理方法及测定结果如下表:
步骤 | 处理方法 | 分组 | |||
甲 | 乙 | 丙 | 丁 | ||
1 | 前期处理 | 25℃、保湿 | 4℃、保湿 | 4℃、水浸种 | 4℃、干燥 |
2 | 培养 | 环境条件:30℃、保湿、充足的空气 | |||
3 | 测定发芽率 | 0 | 100 | 98 | 0 |
从上表可以看出,前期处理的最佳条件是______。从种子萌发的自身(内在)条件分析,对水稻种子进行前期处理,目的是为了______。
生物真题参考答案
一、选择题
【1题答案】
【答案】A
【2题答案】
【答案】D
【3题答案】
【答案】A
【4题答案】
【答案】A
【5题答案】
【答案】A
【6题答案】
【答案】A
【7题答案】
【答案】D
【8题答案】
【答案】A
【9题答案】
【答案】D
【10题答案】
【答案】A
【11题答案】
【答案】B
【12题答案】
【答案】C
【13题答案】
【答案】A
【14题答案】
【答案】D
【15题答案】
【答案】C
【16题答案】
【答案】C
【17题答案】
【答案】D
【18题答案】
【答案】D
【19题答案】
【答案】C
【20题答案】
【答案】D
【21题答案】
【答案】C
【22题答案】
【答案】B
【23题答案】
【答案】A
【24题答案】
【答案】B
【25题答案】
【答案】B
【26题答案】
【答案】C
【27题答案】
【答案】B
【28题答案】
【答案】D
【29题答案】
【答案】B
【30题答案】
【答案】C
【31题答案】
【答案】B
【32题答案】
【答案】C
【33题答案】
【答案】C
【34题答案】
【答案】B
【35题答案】
【答案】D
二、非选择题
【36题答案】
【答案】(1)保护环境或植树造林
(2) ①. 生物种类(物种) ②. 穿山甲和海南坡鹿##海南坡鹿和穿山甲
(3) ①. 光合作用 ②. 食物链(网) ③. 物质循环和能量流动##能量流动和物质循环
【37题答案】
【答案】(1)肾脏 (2)大脑皮层
(3) ①. 简单(非条件) ②. D ③. A
【38题答案】
【答案】(1)病原体 (2)遗传物质
(3)特异性(后天性)
(4)抗体 (5)①③
【39题答案】
【答案】(1)③ (2)5
(3)= (4) ①. 4℃、保湿 ②. 使种子不在休眠期(解除种子休眠)
