一、选择题:本题共11小题,每小题4分,共44分。在每小题给出的四个选项中,第1~7题只有一项符合题目要求,第8~11题有多项符合题目要求。全部选对的得4分,选对但不全的得2分,有选错的得0分。
1.上世纪四十年代初,我国科学家王淦昌先生首先提出证明中微子存在的实验方案:如果静止原子核
俘获核外K层电子e,可生成一个新原子核X,并放出中微子νe,即
+
→X+
。根据核反应后原子核X的动能和动量,可以间接测量中微子的能量和动量,进而确定中微子的存在。下列说法正确的是
A.原子核X是
B.核反应前后的总质子数不变
C.核反应前后总质量数不同
D.中微子νe的电荷量与电子的相同
2.2022年5月,我国成功完成了天舟四号货运飞船与空间站的对接,形成的组合体在地球引力作用下绕地球做圆周运动,周期约90分钟。下列说法正确的是
A.组合体中的货物处于超重状态
B.组合体的速度大小略大于第一宇宙速度
C.组合体的角速度大小比地球同步卫星的大
D.组合体的加速度大小比地球同步卫星的小
3.一定质量的理想气体由状态a变为状态c,其过程如p-V图中a→c直线段所示,状态b对应该线段的中点。下列说法正确的是
A.a→b是等温过程
B.a→b过程中气体吸热
C.a→c过程中状态b的温度最低
D.a→c过程中外界对气体做正功
4.密立根油滴实验装置如图所示,两块水平放置的金属板分别与电源的正负极相接,板间产生匀强电场。用一个喷雾器把密度相同的许多油滴从上板中间的小孔喷入电场,油滴从喷口喷出时由于摩擦而带电。金属板间电势差为U时,电荷量为q、半径为r的球状油滴在板间保持静止。若仅将金属板间电势差调整为2U,则在板间能保持静止的球状油滴所带电荷量和半径可以为
A.q,r B.2q,r C.2q,2r D.4q,2r
5.如图所示,质量分别为m和2m的小物块Р和Q,用轻质弹簧连接后放在水平地面上,Р通过一根水平轻绳连接到墙上。P的下表面光滑,Q与地面间的动摩擦因数为μ,最大静摩擦力等于滑动摩擦力。用水平拉力将Q向右缓慢拉开一段距离,撤去拉力后,Q恰好能保持静止。弹簧形变始终在弹性限度内,弹簧的
劲度系数为k,重力加速度大小为g。若剪断轻绳,Р在随后的运动过程中相对于其初始位置的最大位移大小为
A.
B.
C.
D.
6.我国高铁技术全球领先,乘高铁极大节省了出行时间。假设两火车站W和G间的铁路里程为1080 km,W和G之间还均匀分布了4个车站。列车从W站始发,经停4站后到达终点站G。设普通列车的最高速度为108 km/h,高铁列车的最高速度为324 km/h。若普通列车和高铁列车在进站和出站过程中,加速度大小均为0.5 m/s2,其余行驶时间内保持各自的最高速度匀速运动,两种列车在每个车站停车时间相同,则从W到G乘高铁列车出行比乘普通列车节省的时间为
A.6小时25分钟 B.6小时30分钟
C.6小时35分钟 D.6小时40分钟
7.一质点做曲线运动,在前一段时间内速度大小由v增大到2v,在随后的一段时间内速度大小由2v增大到5v。前后两段时间内,合外力对质点做功分别为W1和W2,合外力的冲量大小分别为I1和I2。下列关系式一定成立的是
A.W2=3W1,I2≤3I1, B.W2=3W1,I2≥I1
C.W2=7W1,I2≤3I1, D.W2=7W1,I2≥I1
8.在如图所示的平面内,分界线SP将宽度为L的矩形区域分成两部分,一部分充满方向垂直于纸面向外的匀强磁场,另一部分充满方向垂直于纸面向里的匀强磁场,磁感应强度大小均为B,SP与磁场左右边界垂直。离子源从S处射入速度大小不同的正离子,离子入射方向与磁场方向垂直且与SP成30°角。已知离子比荷为k,不计重力。若离子从Р点射出,设出射方向与入射方向的夹角为θ,则离子的入射速度和对应θ角的可能组合为
A.
kBL,0° B.
kBL,0° C.kBL,60° D.2kBL,60°
9.近年来,基于变压器原理的无线充电技术得到了广泛应用,其简化的充电原理图如图所示。发射线圈的输入电压为220 V、匝数为1100匝,接收线圈的匝数为50匝。若工作状态下,穿过接收线圈的磁通量约为发射线圈的80%,忽略其它损耗,下列说法正确的是
A.接收线圈的输出电压约为8 V
B.接收线圈与发射线圈中电流之比约为22:1
C.发射线圈与接收线圈中交变电流的频率相同
D.穿过发射线圈的磁通量变化率与穿过接收线圈的相同
10.如图所示,一带电粒子以初速度v0沿x轴正方向从坐标原点О射入,并经过点P(a>0, b>0)。若上述过程仅由方向平行于y轴的匀强电场实现,粒子从О到Р运动的时间为t1,到达Р点的动能为Ek1。若上述过程仅由方向垂直于纸面的匀强磁场实现,粒子从O到Р运动的时间为t2,到达Р点的动能为Ek2。下列关系式正确的是·
A.t1< t2 B.t1> t2
C.Ek1< Ek2 D.Ek1> Ek2
11.如图所示,两平行导轨在同一水平面内。一导体棒垂直放在导轨上,棒与导轨间的动摩擦因数恒定。整个装置置于匀强磁场中,磁感应强度大小恒定,方向与金属棒垂直、与水平向右方向的夹角θ可调。导体棒沿导轨向右运动,现给导体棒通以图示方向的恒定电流,适当调整磁场方向,可以使导体棒沿导轨做匀加速运动或匀减速运动。已知导体棒加速时,加速度的最大值为
g;减速时,加速度的最大值为
g,其中g为重力加速度大小。下列说法正确的是
A.棒与导轨间的动摩擦因数为
B.棒与导轨间的动摩擦因数为
C.加速阶段加速度大小最大时,磁场方向斜向下,θ=60°
D.减速阶段加速度大小最大时,磁场方向斜向上,θ=150°
二、非选择题:本题共5小题。共56分。
12.(7分)
某同学设计了一个用拉力传感器验证机械能守恒定律的实验。一根轻绳一端连接固定的拉力传感器,另一端连接小钢球,如图甲所示。拉起小钢球至某一位置由静止释放,使小钢球在竖直平面内摆动,记录钢球摆动过程中拉力传感器示数的最大值Tmax和最小值Tmin。改变小钢球的初始释放位置,重复上述过程。根据测量数据在直角坐标系中绘制的Tmax-Tmin图像是一条直线,如图乙所示。
(1)若小钢球摆动过程中机械能守恒。则图乙中直线斜率的理论值为。
(2)由图乙得:直线的斜率为,小钢球的重力为N。(结果均保留2位有效数字)
(3)该实验系统误差的主要来源是(单选,填正确答案标号)。
A.小钢球摆动角度偏大
B.小钢球初始释放位置不同
C.小钢球摆动过程中有空气阻力
13.(9分)
某探究小组学习了多用电表的工作原理和使用方法后,为测量一种新型材料制成的圆柱形电阻的电阻率,进行了如下实验探究。
(1)该小组用螺旋测微器测量该圆柱形电阻的直径D,示数如图甲所示,其读数为mm。再用游标卡尺测得其长度L。
(2)该小组用如图乙所示的电路测量该圆柱形电阻Rx的阻值。图中电流表量程为0.6A、内阻为1.0Ω,定值电阻R0的阻值为20.0Ω,电阻箱R的最大阻值为999.9 Ω。首先将S2置于位置1,闭合S1,多次改变电阻箱R的阻值,记下电流表的对应读数I,实验数据见下表。
根据表中数据,在图丙中绘制出
-R图像。再将S2置于位置2,此时电流表读数为0.400A。根据图丙中的图像可得Rx=Ω(结果保留2位有效数字)。最后可由表达式ρ=得到该材料的电阻率(用D、L、Rx表示) 。
(3)该小组根据图乙的电路和图丙的
-R图像,还可以求得电源电动势E=
V,内阻r=Ω。(结果均保留2位有效数字)
(4)持续使用后,电源电动势降低、内阻变大。若该小组再次将此圆柱形电阻连入此装置,测得电路的电流,仍根据原来描绘的图丙的图像得到该电阻的测量值会(选填“偏大”、“偏小”或“不变”)。
14.(9分)
如图所示,水族馆训练员在训练海豚时,将一发光小球高举在水面上方的A位置,海豚的眼睛在B位置,A位置和B位置的水平距离为d,A位置离水面的高度为
d。训练员将小球向左水平抛出,入水点在B位置的正上方,入水前瞬间速度方向与水面夹角为θ。小球在A位置发出的一束光线经水面折射后到达B位置,折射光线与水平方向的夹角也为θ。
已知水的折射率n=
,求:
(1)tanθ的值;
(2)B位置到水面的距离H。
15.(15分)
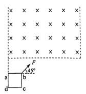
如图所示,高度足够的匀强磁场区域下边界水平、左右边界竖直,磁场方向垂直于纸面向里。正方形单匝线框abcd的边长L=0.2 m、回路电阻R=1.6×10-3Ω、质量m=0.2 kg。线框平面与磁场方向垂直,线框的ad边与磁场左边界平齐,ab边与磁场下边界的距离也为L。现对线框施加与水平向右方向成θ=45°角、大小为
N的恒力F,使其在图示竖直平面内由静止开始运动。从ab边进入磁场开始,在竖直方向线框做匀速运动;dc边进入磁场时,bc边恰好到达磁场右边界。重力加速度大小取g = 10 m/s2,求:
(1)ab边进入磁场前,线框在水平方向和竖直方向的加速度大小;
(2)磁场的磁感应强度大小和线框进入磁场的整个过程中回路产生的焦耳热;
(3)磁场区域的水平宽度。
16.(16分)
打桩机是基建常用工具。某种简易打桩机模型如图所示,重物A、B和C通过不可伸长的轻质长绳跨过两个光滑的等高小定滑轮连接,C与滑轮等高(图中实线位置)时,C到两定滑轮的距离均为L。重物A和B的质量均为m,系统可以在如图虚线位置保持静止,此时连接C的绳与水平方向的夹角为60°。某次打桩时,用外力将C拉到图中实线位置,然后由静止释放。设C的下落速度为
时,与正下方质量为2m的静止桩D正碰,碰撞时间极短,碰撞后C的速度为零,D竖直向下运动
距离后静止(不考虑C、D再次相碰)。A、B、C、D均可视为质点。
(1)求C的质量;
(2)若D在运动过程中受到的阻力F可视为恒力,求F的大小;
(3)撤掉桩D,将C再次拉到图中实线位置,然后由静止释放,求A、B、C的总动能最大时C的动能。
湖北省2022年普通高中学业水平等级考试
物理参考答案
一、选择题
1. A 2. C 3. B 4. D 5.C6. B 7. C 8. BC 9. AC 10. AD 11. BC
二、非选择题
12. ①.
②.
③. 0.59 ④. C
13. ①. 3.700 ②. 6.0 ③.
④. 12 ⑤. 3.0 ⑥. 偏小
14. (1)
;(2)
15.(1)ax= 20m/s2,ay= 10m/s2;(2)B= 0.2T,Q= 0.4J;(3)X= 1.1m
16.(1)
;(2)6.5mg;(3)
