2022年云南中考化学试题卷及答案
可能用到的相对原子质量:H-1 C-12 N-14 O-16 Na-23 S-32 Ca-40 Ba-137
第Ⅰ卷(选择题,共45分)
一、选择题(本大题共20个小题,第1~15小题,每小题2分,第16~20小题,每小题3分,共45分。每小题只有一个选项符合题意,多选、错选或不选均不得分)
1. “宋有青瓷、元有青花、明有粗陶、清有紫陶”。云南建水人早在3500多年前就攀握了制陶技术。下列陶瓷制作过程中属于化学变化的是
A. 镇浆制泥
B. 拉坯造型
C. 高温烧制
D. 磨光上釉
【答案】C
【解析】
【详解】A.镇浆制泥,没有新物质生成,属于物理变化。
B.拉坯造型,只是物质形状改变,没有新物质生成,属于物理变化。
C.高温烧制,有新物质生成,属于化学变化。
D.磨光上釉没有新物质生成,属于物理变化。
故选:C。
2. 下列杯子使用的主要材料中,属于有机合成材料的是
A. 不锈钢水杯 B. 玻璃水杯 C. 陶瓷水杯 D. 塑料水杯
【答案】D
【解析】
【详解】A、不锈钢水杯是一种合金,属于金属材料,选项错误;
B、玻璃水杯的材料属于无机非金属材料,选项错误;
C、陶瓷水杯的材料属于无机非金属材料,选项错误;
D、塑料水杯的材料是一种塑料,属于有机合成材料,选项正确,故选D。
3. 下列物质中属于氧化物的是
A. O2 B. SiO2 C. H2SiO3 D. Na2SiO3
【答案】B
【解析】
【详解】A、氧气是由氧元素组成的纯净物,属于单质,不符合题意;
B、二氧化硅是由Si、O两种元素组成的化合物,属于氧化物,符合题意;
C、H2SiO3是由H、Si、O三种元素组成的纯净物,属于化合物,不属于氧化物,不符合题意;
D、Na2SiO3是由Na、Si、O三种元素组成的纯净物,属于化合物,不属于氧化物,不符合题意。
故选B。
4. 下列关于“端午时节粽飘香”这一宏观现象的微观解释正确的是
A. 分子之间有间隔 B. 分子的质量很小
C. 分子在不断运动 D. 分子的体积很小
【答案】C
【解析】
【分析】“端午时节粽飘香”这一宏观现象的微观解释是分子在不断运动,人们才能闻到香味。
【详解】故选C。
5. 绿色植物进行光合作用时,生成的能供给动植物呼吸的气体是
A. N2 B. O2 C. CO2 D. Ne
【答案】B
【解析】
【详解】A、氮气不支持呼吸,选项错误;
B、氧气支持呼吸,能供给动植物呼吸,选项正确;
C、二氧化碳参与植物的光合作用,但不支持呼吸,选项错误;
D、氖气是一种稀有气体,不支持呼吸,不能供给动植物呼吸,选项错误,故选B。
6. 辣椒具有温中散寒,除湿开胃的功效。下表是某辣椒的主要营养成分信息,其中含量最高的营养素是
营养成分 | 蛋白质 | 脂肪 | 糖类 | 维生素 |
每100g含 | 1.4g | 0.3g | 3.7g | 63.0mg |
A. 蛋白质 B. 脂肪 C. 糖类 D. 维生素
【答案】C
【解析】
【分析】根据表中数据可知,营养素由高到低依次是糖类、蛋白质、脂肪、维生素。
【详解】故选C。
7. 幼儿及青少年缺钙会患佝偻病。因此,每日必须摄入足够量的钙。这里的“钙”指的是
A. 原子 B. 分子 C. 元素 D. 单质
【答案】C
【解析】
【详解】这里的“钙”不是以分子、原子、单质的形式存在,而是强调存在的元素,与具体形态无关。
故选C。
8. 合理使用化肥对“发展粮食产业,助力乡村振兴”具有重要意义。下列化肥属于复合肥的是
A. KNO3 B. K2SO4 C. CO(NH2)2 D. Ca(H2PO4)2
【答案】A
【解析】
【分析】含有氮、磷、钾元素其中两种或两种以上的为复合肥,据此回答。
【详解】A、KNO3含有氮、钾元素其中两种,属于复合肥,符合题意;
B、K2SO4属于钾肥,不符合题意;
C、CO(NH2)2属于氮肥,不符合题意;
D、Ca(H2PO4)2属于磷肥,不符合题意。
故选A。
9. 下列溶液中溶剂不是水的是
A. 碘酒溶液 B. 生理盐水 C. 过氧化氢溶液 D. 葡萄糖注射液
【答案】A
【解析】
【分析】本题考查常见的溶液。
【详解】A、碘酒溶液中碘单质是溶质,酒精是溶剂,故A符合题意;
B、生理盐水中,氯化钠是溶质,水是溶剂,故B不符合题意;
C、过氧化氢溶液中,过氧化氢是溶质,水是溶剂,故C不符合题意;
D、葡萄糖注射液中,葡萄糖是溶质,水是溶剂,故D不符合题意;
故选A。
【点睛】本题难度不大,熟记常识进行判断。
10. 下列灭火方法不正确的是
A. 森林起火一一砍伐树木形成隔离带 B. 油锅起火一一用锅盖盖灭
C. 图书馆内图书起火一一用二氧化碳灭火器灭火 D. 汽油着火一一用水浇灭
【答案】D
【解析】
【详解】A、森林起火时砍伐树木形成隔离带,能够防止火势的蔓延,最终实现灭火,选项正确;
B、油锅起火时,利用隔绝氧气的原理,用锅盖盖灭,选项正确;
C、图书馆内图书起火时,用二氧化碳灭火器灭火后二氧化碳挥发,不会污毁图书等,选项正确;
D、汽油的密度比水小,且不溶于水,汽油着火用水浇,会导致汽油浮在水的上面继续燃烧,造成火势蔓延,选项错误,故选D。
11. 正确的实验操作是实验成功的保证。下列实验操作不正确的是
A. 振荡试管
B. 添加酒精
C. 稀释浓硫酸
D. 测定溶液的pH
【答案】B
【解析】
【详解】A、通过运用手腕的力量,使试管底部左右振荡,选项正确,不符合题意;
B、不能向燃烧
酒精灯内加注酒精,容易引发失火,选项错误,符合题意;
C、稀释浓硫酸时,应将浓硫酸沿烧杯内壁缓慢倒入水中,并用玻璃棒不断搅拌,选项正确,不符合题意;
D、用玻璃棒蘸取待测液滴在PH试纸上,从而测量溶液PH值,选项正确,不符合题意。
故选B。
12. 天宫课堂中,宇航员通过实验呈现了“奥运五环”,实验中使用了指示剂一一溴百里酚蓝,溴百里酚蓝溶液在不同环境中的显色情况如下:
溶液 | 中性溶液 | 碱性溶液 | 酸性溶液 |
颜色 | 绿色 | 蓝色 | 黄色 |
下列溶液能使绿色溴百里酚蓝溶液变为黄色的是
A. 氯化钠溶液 B. 醋酸溶液 C. 氢氧化钾溶液 D. 碳酸钠溶液
【答案】B
【解析】
【分析】本题考查酸碱指示剂。
【详解】A、氯化钠溶液呈中性,遇到溴百里酚蓝溶液显绿色,故A不符合题意;
B、醋酸溶液呈酸性,遇到溴百里酚蓝溶液显黄色,故B符合题意;
C、氢氧化钾溶液呈碱性,遇到溴百里酚蓝溶液显蓝色,故C不符合题意;
D、碳酸钠溶液呈碱性,遇到溴百里酚蓝溶液显蓝色,故D不符合题意;
故选B。
【点睛】结合溶液的酸碱性判断即可。
13. 浩瀚的大海美丽而富饶,钠元素是其中含量较高的元素。下图为钠的原子结构示意图,有关钠原子的说法不正确的是

A. 核外有3个电子层 B. 质子数为11
C. 易失电子形成阳离子 D. “+”表示钠原子带正电
【答案】D
【解析】
【详解】A、根据图示可知,钠原子核外有三个电子层,不符合题意;
B、原子核内有11个质子,不符合题意;
C、该原子易失去1个电子,形成阳离子,不符合题意;
D、“+”表示质子带正电,符合题意。
故选D。
14. 铑被用于汽车催化转化器,使氮氧化物转化成无害气体。铑元素在元素周期表中的相关信息如图所示,下列说法不正确的是

A. 铑的原子序数为45 B. 铑的元素符号为Rh
C. 铑是一种金属元素 D. 一个铑原子的质量为102.9g
【答案】D
【解析】
【分析】根据铑元素在元素周期表中的相关信息回答问题。
【详解】A、通过图示可知铑的原子序数为45,选项正确,不符合题意;
B、通过图示可知铑的元素符号为Rh,选项正确,不符合题意;
C、铑元素名称偏旁为金字旁,属于金属元素,选项正确,不符合题意;
D、通过图示可知铑原子的相对原子质量为102.9,选项错误,符合题意。
故选D。
15. 云南文山有“中国三七之乡”的美誉。《本草纲目》记载:“三七近时始出,南人军中,用为金疮要药,云有奇功”。三七中止血的活性成分主要是田七氨酸(C5H8N2O5),下列说法正确的是
A. 田七氨酸是由碳、氢、氮、氧四种元素组成的有机物
B. 田七氨酸中含N2O5分子
C. 田七氨酸中碳元素的质量分数最大
D. 田七氨酸中碳、氢、氮、氧元素的质量比为5:8:2:5
【答案】A
【解析】
【详解】A、由化学式可知,田七氨酸是由碳、氢、氮、氧四种元素组成的,是一种含碳化合物,符合有机物的特点,属于有机物,选项正确;
B、由化学式可知,田七氨酸由田七氨酸分子构成,一个田七氨酸分子中含有5个碳原子、8个氢原子、2个氮原子和5个氧原子,选项错误;
C、田七氨酸中碳、氢、氮、氧元素的质量比=(12×5):(1×8):(14×2):(16×5)=15:2:7:20,则田七氨酸中氧元素的质量分数最大,选项错误;
D、田七氨酸中碳、氢、氮、氧元素的质量比=(12×5):(1×8):(14×2):(16×5)=15:2:7:20,选项错误,故选A。
16. 人工光合固碳装置通过电化学手段将二氧化碳还原为甲酸(HCOOH)。该反应的微观示意图如下,有关该反应的说法不正确的是

A. 从反应价值看:可减少CO2的排放
B. 从守恒关系看:反应前后原子的种类、数目不变
C. 从价态变化看:反应前后各元素的化合价不变
D. 从表示方法看:反应的化学方程式为2CO2+2H2O
2HCOOH+O2
【答案】C
【解析】
【详解】A、该反应中二氧化碳是反应物被消耗,可以减少二氧化碳的排放,故A不符合题意;
B、根据质量守恒可知,反应前后原子种类和数目不变,故B不符合题意;
C、该反应是2CO2+2H2O
2HCOOH+O2,该反应中氧元素的化合价从-2价变成了零价,发生了改变,故C符合题意;
D、根据模型可判断该反应是:2CO2+2H2O
2HCOOH+O2,故D不符合题意;
故选C。
17. 下列实验设计不能达到其对应实验目的的是
选项 | A | B | C | D |
实验设计 |
|
|
|
|
实验目的 | 测定空气中氧气的含量 | 探究CO2不支持燃烧,密度比空气大 | 探究酸与指示剂作用 | 配制100g10%的氯化钠溶液(p水=lg/mL) |
A. A B. B C. C D. D
【答案】A
【解析】
【详解】A、该装置中的橡皮管处没有弹簧夹,红磷与装置中的空气中的氧气燃烧时放出热量,瓶中的气体受热体积膨胀,部分气体沿导管经烧杯中的水排到空气中,实验后发现进入瓶中的水的体积会大于空气体积的五分之一,即实验结果偏大,选项错误;
B、将二氧化碳像倒水一样慢慢倒入放有两支高低不同的燃着的蜡烛的烧杯中,观察到蜡烛由低到高依次熄灭,说明CO2不支持燃烧,密度比空气大,选项正确;
C、实验中,观察到稀硫酸与稀盐酸都能够使石蕊变红,都不能使酚酞变色,即该实验能够探究酸与指示剂作用,选项正确;
D、90mL水的质量=90mL×1g/mL=90g,配制的溶液的质量=10g+90g=100g,所配溶液的溶质质量分数=
×100%=10%,选项正确,故选A。
18. 下列实验方案设计不正确的是
选项 | 实验目的 | 实验方案 |
A | 鉴别涤纶纤维和羊毛纤维 | 分别灼烧,闻气味 |
B | 鉴别KCl固体和NH4Cl固体 | 分别加熟石灰研磨,闻气味 |
C | 检验NaOH溶液是否完全变质 | 取样,滴加石灰水,再滴加酚酞溶液 |
D | 除去CO2中的水蒸气 | 将混合气体通过盛有浓硫酸的洗气装置 |
A. A B. B C. C D. D
【答案】C
【解析】
【详解】A、灼烧涤纶纤维时不产生烧焦羽毛味,灼烧羊毛纤维时产生烧焦羽毛味,所以分别灼烧,闻气味能够鉴别涤纶纤维和羊毛纤维,选项正确;
B、氯化钾与熟石灰交换成分不产生沉淀、气体或水,则氯化钾与熟石灰不发生反应,氯化铵中含有铵根离子,能够与熟石灰反应生成有刺激性气味的氨气,所以分别加熟石灰研磨,闻气味能够鉴别KCl固体和NH4Cl固体,选项正确;
C、氢氧化钠变质后生成碳酸钠,碳酸钠能够与石灰水中的氢氧化钙反应生成碳酸钙沉淀和氢氧化钠,生成的氢氧化钠也能够使酚酞变红,无法检验固体中是否含有氢氧化钠,不能检验NaOH溶液是否完全变质,选项错误;
D、由酸的通性可知,二氧化碳不能与浓硫酸反应,浓硫酸具有吸水性,能够吸收气体中的水分来干燥气体,所以将混合气体通过盛有浓硫酸的洗气装置,能够除去CO2中的水蒸气,选项正确,故选C。
19. 为探究硝酸钾的溶解性,进行了下图所示实验(实验过程)

结合硝酸钾在不同温度下的溶解度,判断下列说法不正确的是
温度/℃ | 10 | 20 | 30 | 40 | 50 | 60 |
KNO3溶解度/g | 20.9 | 31.6 | 45.8 | 63.9 | 85.5 | 110.0 |
A. ①③中的溶液均为不饱和溶液 B. ②③中溶液的质量:③>②
C. ②③④中溶液的溶质质量分数:③>②>④ D. ④中析出晶体的质量是0.9g
【答案】D
【解析】
【详解】A.①中温度为20℃,该温度溶液的溶解度为31.6g,所以有50g水能够溶解硝酸钾15.8g,只加入10g硝酸钾,所以为不饱和溶液;③中温度为60℃,该温度溶液的溶解度为110.0g,所以有50g水能够溶解硝酸钾55g,而此时加入的硝酸钾有20g,所以溶液为不饱和溶液,正确。
B.②固体有不溶的,③固体全溶,所以对应溶液的质量:③>②,正确。
C.②中溶液的溶质质量分数为
;③中溶液的溶质质量分数为
;④中温度为10℃,该温度溶液的溶解度为20.9g,所以有50g水能够溶解硝酸钾10.45g,对应溶液的溶质质量分数为
;所以②③④中溶液的溶质质量分数③>②>④,正确。
D.④中析出晶体
质量是20g-10.45g=9.55g,错误。
故选:D。
20. 甲、乙、丙、丁是初中化学常见的物质,在一定条件下它们之间的转化关系如图所示。下列推断中正确的个数有

①甲、乙、丙、丁可能含有同一种元素
②若甲为单质,则此反应一定是置换反应
③若丙为氯化钠,则甲、乙中一定有碱
④若丙为Cu(NO3)2,则甲可能为单质、氧化物、酸、碱或盐
A. 1个 B. 2个 C. 3个 D. 4个
【答案】B
【解析】
【详解】①甲、乙、丙、丁可能含有同一种元素,比如乙醇和氧气点燃生成二氧化碳和水,各物质均含有氧元素,正确。
②若甲为单质,则此反应不一定
置换反应,比如乙为甲烷和甲为氧气反应生成二氧化碳和水,错误。
③若丙为氯化钠,则甲、乙中不一定有碱,比如碳酸钠和稀盐酸反应生成氯化钠,碳酸钠属于盐,稀盐酸属于酸,错误。
④若丙为Cu(NO3)2,则甲可能为单质铜(铜和硝酸反应)、氧化物(氧化铜和硝酸反应)、酸(氧化铜和硝酸反应)、碱(氢氧化铜和硝酸反应)或盐(氯化铜和硝酸银反应),正确。
综上所述正确的有①④两个。
故选:B。
第Ⅱ卷非选择题(共55分)
二、填空与简答(本大题共5个小题,化学方程式每空2分,其余每空1分,共33分)
21. 完成下列填空:
(1)化学用语是最简明、信息丰富、国际通用的语言。请用化学用语填空:
①氦元素___________。
②镁离子___________。
③2个过氧化氢分子___________。
④某化合物中,同种元素呈现不同的化合价,该化合物可以是____________。
(2)下列化学符号中,数字“3”可表示不同的含义,其中表示一个离子所带电荷数的是___________(填标号,下同),表示一个分子中所含原子个数的是___________。
①3Cl2②SO3③Al3+④3K
【答案】(1) ①. He ②. Mg2+ ③. 2H2O2 ④. NH4NO3
(2) ①. ③ ②. ②
【解析】
【小问1详解】
①元素符号书写第一个字母大写,第二个小写,属于氦元素为He。
②离子的表示方法:在表示该离子的元素符号右上角,标出该离子所带的正负电荷数,数字在前,正负符号在后,带1个电荷时,1省略,故镁离子为Mg2+。
③分子的表示方法:正确书写物质的化学式,若表示多个该分子,就在其化学式前加上相应的数字,所以2个过氧化氢分子为2H2O2。
④某化合物中,同种元素呈现不同的化合价,该化合物可以是硝酸铵,硝酸铵中前面氮元素显-3价,后面显+5价,故填NH4NO3。
【小问2详解】
表示一个离子所带电荷数的是:③Al3+:一个铝离子带3个单位正电荷;表示一个分子中所含原子个数的是②SO3:一个三氧化硫分子中含有3个氧原子。
22. 化学就在我们身边,人类的生产、生活离不开化学。
(1)从下列选项中选择一种适当的物质填空(填标号)。
A.钛合金 B.医用酒精 C.碳酸氢钠
①可用___________擦拭物品消毒;
②可用___________治疗胃酸过多症;
③可用___________制造人造骨骼。
(2)目前,人类使用的燃料大多来自化石燃料,化石燃料属于___________(填“可再生”或“不可再生”)能源。分别取1kg天然气和煤充分燃烧,产生的CO2和SO2气体的质量如下图所示,CO2和SO2中会导致酸雨的是___________,图中更清洁的燃料是___________。

(3)第24届冬季奥运会的火炬“飞扬”以液氢为燃料,体现了绿色奥运的理念。目前,在生活和生产中大量使用氢能源还存在一定的困难,原因是___________(填一条即可)。
【答案】(1) ①. B ②. C ③. A
(2) ①. 不可再生 ②. 二氧化硫##SO2 ③. 天然气
(3)不便于运输储存(合理即可)
【解析】
【小问1详解】
①可用医用酒精擦拭物品消毒,故填:B;
②可用碳酸氢钠治疗胃酸过多症,因为碳酸氢钠能与胃酸中的稀盐酸反应,故填:C;
③可用钛合金制造人造骨骼,因为具有良好的生物相容性,故填:A。
【小问2详解】
化石燃料属于不可再生能源,因为生成过程过于复杂。CO2和SO2中会导致酸雨的是SO2,二氧化碳会导致温室效应,图中更清洁的燃料是天然气,因为同等质量下产生二氧化碳一样多,但是产生二氧化硫更少。
【小问3详解】
目前,在生活和生产中大量使用氢能源还存在一定的困难,原因是氢气属于可燃性气体,不便于运输储存(合理即可)。
23. 2022年3月22日是第三十届“世界水日”,其主题为“珍惜地下水,珍视隐藏的资源”。
(1)地下水是___________(填“混合物”或“纯净物”)。
(2)实验室制取蒸馏水时,在烧瓶中加入几粒沸石或碎瓷片的目的是___________。实验结束,可加入___________比较水蒸馏前后的硬度变化。
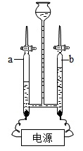
(3)宇航员一部分生活用氧可通过电解水制得。如图是电解水的实验示意图,玻璃管___________(填“a”或“b”)中的气体能使带火星的木条复燃。该实验说明水是由___________组成的。

(4)机场、车站等公共场所设有许多直饮水机,能将自来水进一步净化处理得到可直接饮用水,其处理水的过程如下图所示。

吸附罐中固体颗粒的主要作用是吸附杂质,固体颗粒可选用___________,紫外线灯管照射的作用是___________。
(5)如图是我国“国家节水标志”,用一句话谈谈你对该标志的理解或得到的启示___________。

【答案】(1)混合物(2) ①. 防止暴沸 ②. 肥皂水
(3) ①. b ②. 氢元素和氧元素
(4) ①. 活性炭 ②. 消毒杀菌
(5)地球上淡水资源有限,应节约用水
【解析】
【小问1详解】
地下水是由水、可溶性杂质等混合而成,属于混合物;
【小问2详解】
实验室制取蒸馏水时,在烧瓶中加入几粒沸石或碎瓷片的目的是防止暴沸;
通常用肥皂水来区分硬水和软水,肥皂水在硬水中易起浮渣,在软水中泡沫较多,故可加入肥皂水比较水蒸馏前后的硬度变化;
【小问3详解】
在电解水实验中,“正氧负氢”,生成氢气和氧气的体积比约为2:1,a管产生的气体较多,是氢气,b管产生的气体较少,是氧气,氧气具有助燃性,能使带火星的木条复燃;
水在通电的条件下反应生成氢气和氧气,氢气由氢元素组成,氧气由氧元素组成,根据质量守恒定律,化学反应前后,元素的种类不变,可得水是由氢元素和氧元素组成;
【小问4详解】
活性炭结构疏松多孔,具有吸附性,可用于吸附杂质;
紫外线照射可使蛋白质变性,可起到消毒杀菌的作用;
【小问5详解】
圆象征了地球,每个人手中只有一滴水,暗示大家地球上淡水资源有限,大家要节约用水,故填:地球上淡水资源有限,应节约用水。
24. 金属及金属材料广泛应用于生产、生活及科学实验,其应用推动了社会的发展。
(1)下列实验中,铜片上的白磷燃烧,说明铜具有___________性:黄铜片和纯铜片相互刻画,纯铜片上留下刻痕,说明黄铜的硬度比纯铜的硬度___________(填“大”或“小")。

(2)铁在潮湿的空气中容易生锈,写出一种防止铁制品生锈的具体方法___________。
(3)春秋战国时期,我国就开始生产和使用铁器。工业上用赤铁矿(主要成分Fe2O3)和一氧化碳反应炼铁的化学方程式为____________。
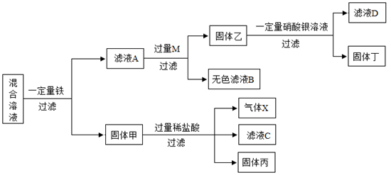
(4)某同学对含Cu(NO3)2、AgNO3、M(NO3)2的混合溶液进行探究,流程如下(M表示一种金属元素):

根据实验探究流程,回答下列问题:
①气体X的化学式为___________。
②金属Fe、Cu、Ag、M的活动性由强到弱的顺序是___________。
③滤液D中所含溶质的成分可能有___________种情况。
【答案】(1) ①. 导热 ②. 大
(2)铁制品表面喷漆(合理即可)
(3)
(4) ①
H2 ②. M>Fe>Cu>Ag ③. 3##三
【解析】
【小问1详解】
铜片上的白磷燃烧,说明铜具有导热性;黄铜片和纯铜片相互刻画,纯铜片上留下刻痕,说明黄铜的硬度比纯铜的硬度大。
【小问2详解】
防止铁制品生锈的方法:喷漆、刷油等,合理即可。
【小问3详解】
赤铁矿和一氧化碳反应炼铁,是一氧化碳与氧化铁高温下反应生成铁和二氧化碳,方程式为:
。
【小问4详解】
①无论加入铁是否过量,固体加一定是金属(混合物),而金属能与稀盐酸发生反应产生气体,则气体X一定是氢气(H2)。
②铁一定会与硝酸银、硝酸铜发生置换,所以滤液A中一定含硝酸亚铁,而加入过量的M后过滤可得到无色滤液,则M活动性一定比铁强,根据已学知识金属活动性Fe>Cu>Ag,所以金属Fe、Cu、Ag、M的活动性由强到弱的顺序是,M>Fe>Cu>Ag。
③结合小问②固体甲加入稀盐酸产生气体,则滤液A溶质为Fe(NO3)2、M(NO3)2,加入过量固体乙,则固体乙是M和铁,再加入一定量的硝酸银溶液过滤,若硝酸银过量,则滤液D溶质为Fe(NO3)2、M(NO3)2、AgNO3,若硝酸银不足,则滤液D溶质为M(NO3)2,或Fe(NO3)2、M(NO3)2,综上共有3种情况。
25. 氨既是一种重要的化工产品,又是一种重要的化工原料。下图为合成氨以及以氨为原料制硝酸的流程示意图。

(1)化合物X是一种常见溶剂,其化学式是___________。
(2)反应Ⅱ属于___________反应(填基本反应类型)。
(3)反应Ⅰ的化学方程式是_____________。
【答案】(1)H2O(2)化合
(3)
【解析】
【小问1详解】
由图示信息可知,氨气和氧气在加热和催化剂作用下生成了一氧化氮和一种常见溶剂,且由反应前后元素种类守恒得知,生成物X含有H元素,且是常见溶剂,则X是H2O。
【小问2详解】
反应II是一氧化氮和氧气生成二氧化氮的反应,符合“多变一”的特征,该反应属于化合反应。
【小问3详解】
单质A和单质B化合生成氨气,且氨气由氮、氢两种元素组成,则A、B分别为氮气、氢气,化学方程式为
。
三、实验与探究(本大题共2个小题,化学方程式每空2分,其余每空1分,共16分)
26. 化学是一门以实验为基础的科学。请结合图示回答问题:

(1)仪器①的名称为___________。
(2)实验室用高锰酸钾制取氧气的化学方程式为___________。用B、E装置制取并收集氧气,实验操作步骤有:①点燃酒精灯,待气泡连续均匀放出时收集气体:②熄灭酒精灯:③装入药品,放置棉花并固定仪器:④连接好装置,检验装置的气密性;⑤从水槽中撤出导管。正确的操作顺序是___________(填标号)。
a.③④①②⑤ b.④③①⑤② c.④③①②⑤ d.③④①⑤②
(3)进行铁丝在氧气中燃烧的实验,集气瓶底部加入水或细沙的目的是___________。
(4)实验室用锌粒和稀硫酸制取氢气,应选择的发生装置是___________(填标号,下同),可选择的收集装置是___________(填一种即可)。
(5)现有一新制
碳酸钙产品,某同学设计如图所示的实验,通过测定反应生成的BaCO3的质量来确定该产品中CaCO3的含量(图中夹持仪器已略去,杂质不与盐酸反应,碱石灰是NaOH和CaO的固体混合物)。

①关闭止水夹,打开分液漏斗活塞,缓慢滴加盐酸至不再有气泡产生,关闭分液漏斗活塞;打开止水夹,缓缓通入空气。通入空气的作用是___________。
②装置D的作用是______________。
③实验时,称取的碳酸钙产品的质量为m1g,反应后得到BaCO3的质量为m2g,则该产品中CaCO3的质量分数为___________(用含m1和m2的代数式表示)。
【答案】(1)铁架台(2) ①.
②. b
(3)防止高温熔融物溅落,使瓶底炸裂
(4) ①. A ②. C##E
(5) ①. 使反应生成的二氧化碳能够充分与氢氧化钡反应 ②. 吸收空气中的二氧化碳,防止对实验的干扰 ③. 
【解析】
【小问1详解】
仪器①的名称为铁架台。
【小问2详解】
实验室用高锰酸钾在加热的条件下制取氧气同时得到锰酸钾和二氧化锰,对应的化学方程式为
。用B、E装置制取并收集氧气,实验操作正确步骤:(查、装、定、点、收、离、熄)④连接好装置,检验装置的气密性;③装入药品,放置棉花并固定仪器;①点燃酒精灯,待气泡连续均匀放出时收集气体;⑤从水槽中撤出导管;②熄灭酒精灯。对应选项为b.④③①⑤②。
【小问3详解】
进行铁丝在氧气中燃烧的实验,集气瓶底部加入水或细沙的目的是防止高温熔融物溅落,使瓶底炸裂。
【小问4详解】
实验室用锌粒和稀硫酸制取氢气,应选择的发生装置是固液常温型,对应图中为装置A;因为氢气密度比空气小且氢气不溶于水,所以可选择的收集装置是向下排空气法或者排水集气法装置,对应图中装置为C或E。
【小问5详解】
①关闭止水夹,打开分液漏斗活塞,缓慢滴加盐酸至不再有气泡产生,关闭分液漏斗活塞;打开止水夹,缓缓通入空气,瓶内压强一直在增加,可以使反应生成的二氧化碳能够充分与氢氧化钡反应。
②装置D碱石灰是NaOH和CaO的固体混合物,氢氧化钠和氢氧化钙会与二氧化碳反应,所以装置的作用是吸收空气中的二氧化碳,防止对实验的干扰。
③碳酸钙产品的质量为m1g,反应后得到BaCO3的质量为m2g,由
可知二氧化碳与碳酸钡沉淀的质量关系为44~197,所以要生成m2g碳酸钡那么需要二氧化碳质量为
g,由
可知二氧化碳与碳酸钙质量关系为44~100,所以要生成
g二氧化碳,需要碳酸钙质量为
g,那么该产品中CaCO3的质量分数为
。
27. 有一包白色粉末,可能由NaCl、Na2SO4、CuSO4、Na2CO3、CaCO3中的一种或几种组成为确定其成分,某化学兴趣小组进行如下实验探究,请你参与探究并回答相关问题。
【提出问题】该白色粉末的成分是什么?
【查阅资料】
(1)部分物质在水中的溶解性表(室温):
物质 | AgNO3 | AgCl | Ag2SO4 | AgCO3 |
溶解性 | 溶 | 不溶 | 微溶 | 不溶 |
(2)AgOH不稳定,在溶液中分解生成难溶于水的物质。
【实验探究】
实验步骤 | 实验现象及结果 | 实验结论 |
①取该白色粉末样品于烧杯,加足量水溶解。 | 样品全部溶解,得到无色溶液A | 白色粉末中不含_________ |
②取少量无色溶液A于试管,加入过量BaCl2溶液,充分反应后过滤 | 到无色溶液B和白色沉淀C | 白色粉末中含有__________ |
③向白色沉淀C中加入过量稀盐酸 | 沉淀部分溶解,并有气泡冒出 | |
④在无色溶液B中滴加几滴AgNO3溶液 | 产生白色沉淀 | 白色粉末中含有NaC1 |
【交流与解释】
(1)白色沉淀C中加入过量的稀盐酸,产生气泡的反应方程式为_____________。
(2)在老师的指导下,通过讨论,同学们认识到由上述实验探究尚不能得出白色粉末中含有NaCl,理由是___________。
为了进一步确定白色粉末中是否含有NaCl,继续进行如下探究。
【继续探究】
实验步骤 | 实验现象 | 实验结论 |
⑤另取少量无色溶液A于试管中,加入过量的___________溶液,振荡,静置 | 产生白色沉淀 | 白色粉末中含有NaCl |
⑥取实验⑤所得上层清液于试管,加入AgNO3溶液 | 产生白色沉淀 |
通过上述实验探究,确定了该白色粉末的成分。
【拓展与反思】在混合溶液中,检验某种离子时,需排除离子间的相互干扰。
【答案】 ①. 硫酸铜、碳酸钙
②. 碳酸钠、硫酸钠 ③.
④. 实验步骤②中加入氯化钡溶液,引入了氯离子,加入的氯离子也能与硝酸银反应生成氯化银白色沉淀 ⑤. 硝酸钡##Ba(NO3)2
【解析】
【详解】实验探究:①取该白色粉末样品于烧杯,加足量水溶解。样品全部溶解,得到无色溶液A,硫酸铜溶液是蓝色的,故一定不含硫酸铜;碳酸钙难溶于水,故一定不含碳酸钙;
②取少量无色溶液A于试管,加入过量BaCl2溶液,充分反应后过滤,得到无色溶液B和白色沉淀C,碳酸钠能与氯化钡反应生成碳酸钡和氯化钠,硫酸钠能与氯化钡反应生成硫酸钡和氯化钠,③向白色沉淀C中加入过量稀盐酸,沉淀部分溶解,并有气泡冒出,碳酸钡能与稀盐酸反应生成氯化钡、二氧化碳和水,硫酸钡能与稀盐酸不反应,故白色沉淀C为碳酸钡和硫酸钡的混合物,则白色粉末中一定含碳酸钠和硫酸钠;
交流与解释:(1)白色沉淀C中加入过量的稀盐酸,碳酸钡和稀盐酸反应生成氯化钡、二氧化碳和水,该反应的化学方程式为:
;
(2)实验步骤②中加入了氯化钡,引入了氯离子,加入的氯离子能与银离子反应生成氯化银白色沉淀,故由上述实验探究尚不能得出白色粉末中含有NaCl;
继续探究:要想验证是否含氯化钠,则不能引入氯离子,故⑤另取少量无色溶液A于试管中,加入过量的硝酸钡溶液,硝酸钡和碳酸钠、硫酸钠反应生成碳酸钡和硫酸钠,除去碳酸钠、硫酸钠的干扰,振荡,静置;
⑥取实验⑤所得上层清液于试管,加入AgNO3溶液,氯化钠和硝酸银反应生成氯化银和硝酸钠,产生白色沉淀,说明含氯化钠。
四、分析与计算(本大题包含1个小题,共6分)
28. 学习小组用已知浓度的氢氧化钠溶液测定某硫酸溶液的浓度。取该硫酸溶液20g,滴加10%的氢氧化钠溶液,恰好完全反应时,共消耗氢氧化钠溶液40g。计算。
(1)消耗的NaOH溶液中溶质的质量为___________g:
(2)该硫酸溶液的溶质质量分数_________。(温馨提示:
)
【答案】(1)4(2)解:设该硫酸溶液的溶质质量分数为x

x=24.5%
答:该硫酸溶液的溶质质量分数为24.5%
【解析】
【小问1详解】
消耗的NaOH溶液中溶质的质量为:40g×10%=4g;
【小问2详解】
见答案。




